• 企业 | 特朗普:英特尔CEO陈立武须立即辞职 没有其他解决办法

    美国总统特朗普(Donald Trump)周四通过社交媒体“真相社交”发文,称英特尔首席执行官陈立武(Lip-Bu Tan)存在“严重的利益冲突”,并要求其“立即辞职”。他表示:“这个问题没有其他解决办法。”   这一表态源于共和党籍联邦参议员汤姆·科顿(Tom Cotton)周三致信英特尔董事会主席弗兰克·耶里(Frank D. Yeary),对陈立武与中国企业的关系及其前雇主Cadence的违规行为提出质疑。 科顿的三大核心质疑 Cadence的违规记录 科顿在信中询问英特尔董事会是否知晓,在聘用陈立武之前,Cadence曾因违反美国出口管制规定而收到传票。上周,Cadence承认向中国某院校出售硬件和软件,违反美国出口管制,并支付1.406亿美元罚款达成和解。   美国司法部指出,Cadence在2015年至2021年期间,通过其中国子公司向中国某院校提供受管制的电子设计自动化工具,且未获得必要的出口许可。   陈立武在2008年至2021年担任Cadence CEO,并担任执行董事长至2023年5月,该违规行为发生在其任职期间。   陈立武在中国的投资 今年4月,路透社报道称,陈立武本人或其运营的风险基金曾向数百家中国芯片及先进制造公司投资至少2亿美元。   知情人士称,陈立武已从部分中国实体撤资,但具体范围尚不明确。美国法律并未禁止公民投资与中国有关联的企业,除非这些企业被明确列入美国财政部的一份中国企业管制清单。目前尚无证据表明陈立武投资了名单上的企业。   英特尔参与“安全飞地计划”的潜在风险 去年9月,英特尔获得拜登政府根据《芯片和科学法》提供的30亿美元资助,用于“安全飞地计划”(Secure Enclave),旨在为美国政府提供安全的半导体制造能力。   科顿质疑陈立武是否充分披露其与中国企业的关系,并询问英特尔是否要求其从与中国有关联的企业撤资。他强调:“英特尔必须负责任地管理美国纳税人的钱,并遵守安全法规。” 英特尔回应 英特尔发言人表示:“英特尔和陈先生坚定致力于维护美国的国家安全,以及我们在美国国防生态系统中的角色完整性。”公司称将就相关问题与科顿进一步沟通。 背景延伸:美国对中国技术的持续警惕 同日,七名共和党参议员联名致信美国商务部,要求评估中国开源人工智能模型(如DeepSeek)可能带来的数据安全风险,并询问这些模型是否可能向中国关联企业提供美国用户数据。   参议员们已提出立法草案,拟禁止DeepSeek在美国政府设备上运行,并禁止联邦承包商使用该技术。美国商务部尚未就此置评。 事件影响 目前,英特尔股价尚未出现剧烈波动,但此事凸显美国政界对半导体行业高管与中国关联的高度敏感。在中美科技竞争加剧的背景下,类似审查可能成为常态。

    英特尔

    芯查查资讯 . 2025-08-08 12 2 4675

  • 技术 | 如何提升半桥 GaN 驱动器性能?PCB布局很关键

    本文重点介绍了由100 V半桥氮化镓(GaN)驱动器驱动的半桥GaN转换器的有效设计实践,着重探讨如何降低电压振铃并提升热性能。100 V GaN驱动器用于优化GaN FET的性能,充分发挥GaN FET的优势并提供稳健的过压保护。 近年来,氮化镓(GaN)技术凭借其相较于传统硅MOSFET的优势,包括更低的寄生电容、无体二极管、出色的热效率和紧凑的尺寸,极大地改变了半导体行业。GaN器件变得越来越可靠,并且能够在很宽的电压范围内工作。现在,GaN器件已被广泛用于消费电子产品、汽车电源系统等众多应用,有效提升了效率和功率密度。    GaN器件具有许多独特的电气特性,例如低栅极电压限值和死区期间的高反向传导损耗,因此需要专门的驱动器来驱动。不建议在没有额外保护电路的情况下,使用常规硅MOSFET驱动器来驱动GaN FET,以免导致性能问题和潜在的器件受损风险。尽管GaN FET市场在不断扩大,但专用的GaN驱动器仍旧稀缺。    ADI公司开发了旗下首款100 V半桥GaN驱动器LT8418。这款先进的驱动器具备稳健的拉电流和灌电流能力,并集成了智能自举开关,能够维持稳定的自举电压,相对于VCC的压降非常小。此外,这款器件具有分离栅极驱动器,可以精细控制导通和关断摆率,从而降低振铃并优化电磁干扰(EMI)性能,因而这款IC非常适合要求苛刻的应用,例如D类放大器、高效率数据中心电源、高频DC-DC转换器和电机驱动器。    然而,以高开关速度工作的GaN转换器对于电路板寄生元件引起的振铃特别敏感。如果过冲或下冲电压超过绝对最大阈值,FET可能会受损。因此,要在GaN应用中采用这款新器件,运用最佳设计实践来提升效率和性能至关重要。 降低寄生电感 在开关事件期间,电流的快速变化会导致PCB布局中固有的寄生电感与杂散电容产生谐振,进而引起转换器中各个节点出现振铃。当开关速度非常快时,由于快速di/dt瞬变,振铃会更加显著。在半桥配置中,寄生电感的主要来源是功率环路和栅极环路,如图1所示。 图1. 半桥配置中的常见寄生电感源。 功率环路电感包括FET漏极电感LD、共源电感LCS以及来自输入电容和PCB走线的寄生电感。栅极环路电感包括栅极电感LGATE和共源电感LCS。   图2和图3展示了寄生电感的影响,表现为开关节点电压和栅极信号上出现了更大振铃。开关节点处的振铃会增加开关损耗并降低EMI性能。同时,栅极信号上的振铃可能会超过栅极电压阈值和绝对额定值,导致FET误导通/关断和栅极永久性损坏。因此,尽可能降低GaN转换器中的寄生电感以确保稳健运行至关重要。 图2.热回路寄生电感导致开关节点电压出现振铃。 图3.栅极环路寄生电感导致栅极信号出现振铃。 采用内部垂直布局来降低热回路电感 为了尽可能降低降压或升压转换器中的热回路电感,关键是减 小dv/dt快速转换期间的电感效应和相关电压尖峰,从而提高效率和EMI性能。热回路布局至关重要,它由GaN FET和热回路电容的位置确定,决定了热回路的物理尺寸,进而决定了热回路的电感大小。为了尽可能降低热回路电感,建议采用图4所示的内部垂直布局。 图4. 优化布局 - 采用内部垂直布局,使FET和热回路电容位于同一层。 在这种布局中,高侧和低侧FET并排放置在同一PCB层上。并行布置可有效缩短互连走线的长度。多个热回路电容(低等效串联电阻(ESR)的陶瓷电容)也放置在同一层上,并直接毗邻FET的源极和漏极端子。这种布局利用内部第一层作为功率环路返回路径,此路径与顶层上的正向路径非常接近,从而有效缩小热回路的物理尺寸。由此还可确保热回路杂散电感与电路板总厚度无关。此外,正向和返回电流的感应磁场相互抵消,进一步降低了寄生电感。 适当布置热回路电容以优化热性能 GaN器件由于尺寸紧凑且接触面积有限,在高开关频率和高负载下可能会承受极大的热应力。因此,在设计PCB布局时,采用有效的热管理实践对于确保性能可靠至关重要。   在降压转换器配置中,由于硬开关产生的损耗,顶部FET通常会经受更高的温度。为了增强散热,建议将高频热回路电容器放置在更靠近底部FET的位置。这种布置不仅能够优化高频环路的电气路径,而且在顶部FET周围提供了额外的空间,有助于改善散热。在这种布局中,内部第一层上的电源平面(位于Q1和Q2下 方)是VIN。这种布局策略的顶层如图5a所示。   相比之下,在升压配置中,底部FET通常会因为硬开关而承受更高的热应力。因此,高频热回路电容应位于顶部FET附近,并在底部FET周围留出空间以改善散热。返回地平面位于第二层。这种布局如图5b所示。 图5. 适当布置热回路电容以改善降压和升压配置的散热效果:(a)降压布 局,电容靠近底部FET;(b)升压布局,电容靠近顶部FET。 通孔虽小但有用 在FET的焊盘上直接布置多个层间连接通孔,有助于进一步降低热回路寄生电感,如图6所示。由于漏极和源极端子交错排列,因此流过这些通孔的电流方向相反,进而形成多个方向相反但相邻的磁场环路。这些磁环导致磁场自我抵消,故热回路中的寄生电感显著降低。 图6. 在GaN器件的焊盘上布置通孔以改善热导率和电导率。 此外,这些通孔能够有效增强散热性能,将FET的热能传输到其他PCB层的铜平面,因此有助于维护器件在高功率运行期间的热完整性。通孔还能将电流分配到多个PCB层上,并能有效降低电阻。建议填充这些通孔,以防止焊接过程中放气和焊料泄漏,并提升散热和导电性能。    图7比较了两个由LT8418驱动的GaN降压电路板之间的温度差异。在相同工作条件下,采用推荐布局实践设计的电路板与设计糟糕的电路板相比,前者搭载的GaN FET的温度明显更低(相差最多28˚C)。 图7. 温度比较,测量条件:VIN = 48 V,VOUT  = 12 V,IOUT  = 10 A,FSW  = 500 kHz。建 议的设计实践使FET温度降低近30˚C:(a)设计糟糕的布局 - FET温度高;(b) 采用建议设计实践的布局 - FET温度低。 善用栅极电阻 GaN FET的固有特性使其绝对最大栅极电压额定值通常在6 V左 右,低于硅(Si) MOSFET。因此,不建议使用针对较高栅极电压而设计的常规Si MOSFET驱动器来驱动GaN器件。设计GaN转换器时务必小心,避免因电压尖峰或栅极振铃而造成损坏。   若以过高的速度切换GaN FET,可能会导致开关节点出现严重的电压过冲和振荡。如上所述,这种现象主要是由电路内的寄生电感和电容引起的。此外,开关节点和栅极之间的耦合可能会引起意外的振荡,进而触发FET误导通。这种意外导通可能会造成直通状况,即高侧和低侧FET同时导通,产生过大的电流。此现象不仅会降低系统效率,而且会给FET带来热过应力和永久性损坏的严重风险。为了缓解这个问题,必须调整栅极信号的摆率,从而确保电路的可靠性并延长其使用寿命。    LT8418用于驱动栅极电压介于3.85 V至5.5 V之间的GaN器件,为栅极 提供了充足的安全裕度。GaN FET应尽可能靠近IC放置,以缩短栅极走线,有效降低栅极电感。此外,这款GaN驱动器具有分离栅极驱动特性,支持通过栅极电阻独立调整导通和关断摆率。利用此特性可以对开关行为进行精细调整,从而满足系统要求。栅极电阻可消耗高频振铃的能量,从而起到抑制栅极信号振荡的作用。应谨慎选择栅极电阻值,以平衡开关速度、EMI性能和栅极损耗。    为了确定最优栅极电阻值,推荐做法是在诸如最大负载和最高开关电压等最坏情况下,在试验台上评估栅极信号。先从较高的栅极电阻值(如3.3 Ω)开始测试,有助于抑制初始振铃并建立一个安全基准。然后逐步降低电阻值,同时监测栅极信号上是否出现过度振铃、过冲或下冲。要确保栅极电压波形在最大额定栅极电压以下和阈值电压以上具有足够的安全裕度。此方法通过优化电阻值来实现可接受的信号质量和效率,同时维持足够的抑制效果。    图8a显示了使用2 Ω的理想顶部栅极电阻时,降压转换器的一些典型波形。这些波形很干净,没有明显的过冲或振铃,表明抑制有效且开关特性得到了优化。相比之下,图8b突出显示了由于顶部栅极电阻(1 Ω)不足,导致顶部栅极信号出现过冲,超过6 V 的安全阈值,可能会造成GaN FET损坏和EMI提高。 图8. 顶部栅极电阻值足够大和不够大两种情况下降压转换器的波形:(a) RTGP  = 2 Ω - 波形干净,振铃非常小;(b) RTGP  = 1 Ω - 振荡波形,超过栅极最大额 定值。 测试点布局不当可能导致误判—务必小心 糟糕的测试点布局可能会引入寄生电感,导致观测到的信号失真,产生错误读数,并可能让开发者误判电路性能。因此,为了准确测量栅极信号,尤其是在高速切换的情况下,适当的测试点布局至关重要。    设计测试点的关键做法之一是使用短开尔文连接。这种方法将目标读取信号与其他噪声信号分离,能够有效降低共享寄生元件的影响,并确保探头直接在FET端子处测量实际栅极信号。    为了测量底部栅极和开关节点信号,建议使用低电容无源探头,并让弹簧接地引线靠近GaN FET的GND,以尽可能降低探头物理连接的影响。顶部栅极VGS 信号以开关节点为基准,因此读取该信号较为困难。这项任务适合使用高速差分探头。为了获得更好的结果,此类光学差分探头通常需要搭配专用的MMCX连接器,如图9所示。 图9. 读取栅极信号时,建议差分探头使用MMCX连接器。 图10还展示了不当的测试点设计和合理的测试点设计的波形比较。 图10. 不当的测试点设计和合理的测试点设计的波形比较:(a)不当的测试点布局导致波形上出现假振铃;(b)从合理的测试点布局采集到的干净波形。 结论 本文重点介绍了由LT8418驱动的GaN半桥转换器的关键设计实践。例如,采用优化的PCB布局、合理的电容布置及精细调整的栅极电阻来确保电路稳健运行,使用精密测量技术来验证电路性能等。在此基础上,结合LT8418的先进特性,则对于要求高效率、小尺寸和热稳定性的高频应用,LT8418将成为理想的驱动器。

    ADI

    ADI智库 . 2025-08-07 1 1590

  • 产品 | 思特威推出智能安防应用4MP近红外增强图像传感器新品

    近日,技术先进的CMOS图像传感器供应商思特威(SmartSens,股票代码688213),宣布推出4MP高性能图像传感器新品——SC489SL。该款产品基于思特威SmartClarity®-3工艺技术打造,首次采用了思特威全新Lightbox IR®-2近红外增强技术,对关键特性近红外感度进行了深度优化,能够在户外低照度远距离场景中,为安防摄像头提供清晰明亮的画面信息。同时,SC489SL还搭载了SFCPixel®等多项先进技术,具备高动态范围、低噪声、低功耗等性能优势,以出色稳定的高品质影像捕捉能力,助力智能安防应用的全面升级。 全新Lightbox IR®-2技术  成就超高近红外感度 在安防监控的实际应用中,传统摄像头常面临在夜间等暗光环境下成像模糊、过暗、噪点多等难点挑战,特别是户外远距离低照度场景,对摄像头内部图像传感器的近红外感度性能提出了更为严苛的要求。针对以上痛点,思特威新一代Lightbox IR®-2近红外增强技术,通过硅片外延优化及背侧深沟槽隔离(BDTI)工艺,成功实现了背照式工艺架构下近红外感度的显著提升。 作为首款搭载该技术的背照式高性能产品,与前代产品相比,SC489SL在850nm波段和940nm波段下的峰值量子效率(peak QE)分别提升约45%和40%,能够帮助摄像头有效扩大在双红外补光灯下的可视范围,实现120米的夜间超远距离清晰成像,从而为安防监控的户外夜间远距离拍摄等提供可靠支持。 综合性能全面优化  影像实力多维进阶 作为一款面向智能安防应用的背照式高性能图像传感器,SC489SL拥有高动态范围、低噪声、低功耗等性能优势,能够以清晰稳定的成像表现,满足安防摄像头在高明暗对比度、低照度等多种光线条件下的拍摄需求。SC489SL支持单帧曝光ColGain HDR®和双帧曝光行交叠HDR(2-exposure staggered HDR)两种高动态模式,在光线明暗对比强烈的环境中,能够减少画面亮部过曝和暗部丢失,呈现出明暗有度、细节丰富的高质量影像。并且,得益于思特威先进的SFCPixel®、超低噪声外围读取电路技术,SC489SL的噪声抑制性能突出,读取噪声(RN)低至0.6e-,帮助摄像头在暗光环境下捕捉到更加清晰、干净的影像信息。此外,基于思特威出色的低功耗设计,在90fps的工作帧率下,SC489SL的功耗可低至300mW,能有效降低摄像头运行功耗和工作发热量,助力安防监控的全天候持续稳定运行。  SC489SL目前已接受送样,预计将于2025年Q4实现量产。

    思特威

    思特威 SmartSens . 2025-08-07 1 1170

  • 技术 | 数据中心的硬件构成有哪3个关键技术?

    数据中心如今已成为与电力以及通、信同等重要的社会基础设施。然而,大多数人只是将数据中心视为一个巨型计算机系统,类似日常使用的诸如计算机、笔记本电脑、智能手机等信息处理设备。实际上,数据中心采用了与个人电脑不同的专有技术,硬件构成包括三个更为关键的要素——半导体、网络、冷却技术。 数据中心 ≠≠≠ “巨型计算机” 数据中心的规模各不相同。单个公司或远程办公室使用约100台服务器的微型数据中心,大型数据中心则可能拥有5000多台服务器,有些设施甚至部署多达百万台服务器。因此,人们很可能顺理成章地认为数据中心相当于“巨型的计算机”。    无论规模大小,这些数据中心都配备了执行信息处理的大量服务器和存储数据的存储器,并通过复杂的网络相互连接在一起。并且,根据情况的不同,有时会单独执行多样且庞大的处理任务,有时则多台设备协同工作,灵活有效地处理众多用户发起的多样化任务(信息处理作业)。    对比数据中心这种专有的运行模式,普通个人电脑与数据中心在系统架构、构成要素及设计理念上产生了差异(下图)。 我们日常使用的电脑原本就是以个人使用为前提设计的。因此,它具有易于识别使用目的和处理任务的特点,同时也便于定制所需电脑的配置规格。例如,经常外出办公的用户会选择便携性出众的笔记本电脑,而热衷3D游戏的玩家则会购买图形处理功能强劲的游戏电脑。    相比之下,数据中心需要迅速有效地处理来自众多用户的多种多样的任务。在多数情况下,业务内容迥异的多家企业会共用同一数据中心的服务器。因此,需要并行设置大量搭载了高通用性CPU(Central Processing Unit)的服务器,通过无缝连接多个服务器来应对待处理任务的变化。这种由多台高通用性服务器组成的系统架构,还具有能够根据需求的增长而灵活扩展服务器的可扩展性优势。    此外,由于待处理数据量庞大,引入能够实现高速、大容量数据传输的网络技术显得至关重要。通常,会采用100Gbps以上的高速互联网线路。此外,下一代数据中心正朝着引入光通信技术的方向发展,以满足高速、大容量、低延迟、能源节省和高安全性的需求。    为了迅速处理数据中心的大量任务,还需要一种能够在CPU和存储器之间更高速读写数据的机制。因此,近年来出现了在CPU邻近的DRAM与存储器之间使用新式内存的趋势,这类被称为SCM(Storage Class Memory)的技术兼具高速数据访问与大容量存储功能,旨在提升系统的性能和效率。    近年来,人工智能(AI)相关任务急剧增加,搭载了GPU(Graphics Processing Unit)和TPU(Tensor Processing Unit)等虽需略微牺牲通用性却能有效执行AI相关处理的芯片的服务器应用案例也日益增多。在AI相关处理中,GPU等与内存之间或内存与存储器之间的数据传输,相比传统任务需要更高速且更大容量的数据交换。因此,引入了更高带宽的网络。通常来说,专门用于此类AI相关处理的服务器与通用服务器混合部署的情况较为少见,它们往往作为AI数据中心被单独设置。    核心理念:“可靠性”与“冗余化” 个人电脑并不需要24小时365天持续使用。此外,即便发生故障,基本上只会给用户带来困扰。数据中心发生严重缺陷或故障,可能会给整个社会带来严重混乱。   首先,数据中心需要持续稳定地处理支撑人们生活和社会活动的各项任务。因此,服务器内用于处理信息的CPU、内存,以及存储数据的存储器等,都需要具备能够持续运行的高可靠性。特别是内存方面,会使用具备保护数据完整性、检测并纠正比特误码功能的ECC(Error-Correcting Code)DRAM。用于存储器的闪存也需选择能够承受频繁数据访问的类型。    其次,在系统方面,数据中心需要引入了预防缺陷和故障发生的机制。数据中心所使用的服务器配备了高性能的冷却系统。特别是在AI数据中心,高负荷连续运行已成为常态,除了常规的风冷系统外,还会采用液冷或将服务器直接浸入高导热液体中进行散热的浸没式冷却等精良技术。    此外,数据中心采用冗余系统结构,可在发生故障时迅速切换至备用设备。具体而言,数据中心系统采用了虚拟化技术,可在服务器发生缺陷时,将正在执行的任务迅速切换至另一台服务器。另外,若用于运行服务器等的电源系统发生故障,根据情况不同,可能会造成无法挽回的损失。因此,数据中心还引入了冗余电源系统,并且为了确保在停电时数据中心仍能持续运行一段时间,在系统的电力接入端还设置了UPS(不间断电源装置)。    当今的数据中心都已引入多项专有技术,核心硬件架构中的半导体、网络、和冷却系统三大要素是保障数据中心稳定运行的关键。    可以预见,未来还需开发更多面向多方面课题解决的技术。特别是在近年来,以减少电力消耗为首的环境负荷降低技术的重要性日益凸显。预计将逐步引入新技术,例如搭载能源节省设计芯片的服务器,以及采用直流供电以减少电源系统中电力转换次数等措施。    OCP(Open Compute Project)是一个促使有效硬件规格和设计的开源社区,旨在满足日益增长的数据中心需求。据称,符合OCP规格和设计的硬件可为大型数据中心带来高处理能力、高经济效益和低能耗。村田是OCP(开放计算项目)的成员之一,下期,我们将为您介绍什么是符合OCP的数据中心集中供电系统?

    村田

    Murata村田中国 . 2025-08-07 1155

  • 方案 | 从民用飞行器到人形机器人,GD32 MCU覆盖电机控制多元场景

    自2013年推出首颗32位MCU以来,兆易创新历经十余年深耕,出货量稳步攀升,截至今年上半年,累计出货量已突破20亿颗。作为国内通用MCU领域的领军企业,兆易创新的脚步从未停歇,始终在更多元的应用探索中不懈前行,致力于在产品质量上迈向新高度。    在2025第五届国际电机驱动与控制论坛上,兆易创新MCU市场部陈树敏围绕电机驱动领域的技术突破与应用实践,以《GD32 MCU为电机驱动提供多维度的解决方案》为题发表主题演讲,系统分享了兆易创新在该领域的创新成果与前沿布局。 面向多元领域的解决方案矩阵 电机作为各类电子电器设备不可或缺的核心部件,其发展空间很大程度上由以MCU为核心的电机控制方案所决定。陈树敏表示,兆易创新针对工业、家电、消费电子及新兴市场等不同领域的差异化需求,量身打造了一系列适配性强、性能优异的电机控制解决方案,全面覆盖多场景下的电机驱动与控制需求。   伺服电机在工业领域应用非常广泛。兆易创新的双伺服电机方案,采用ARM® Cortex®-M4内核的高性能GD32F4作为主控芯片,主频高达240MHz,实现双伺服电机、高集成度低成本控制。这个方案可实现基于14位精度磁编码器定位的FOC磁场定向控制,并采用位置环、速度环、电流环三闭环控制,支持双电阻、三电阻电流采样方式。    EtherCAT®伺服从站解决方案是兆易创新在工业领域推出的一款重要方案。该方案以主频高达600MHz ARM® Cortex®-M7与ESC控制器二合一的GD32H75E为主控芯片,同时满足伺服控制性能和BOM成本的优化。其伺服驱动采用标准CiA 402协议,通过TwinCAT进行实时控制,提供开箱即用解决方案。该方案内置自有强化算法,可在轮廓位置模式(PP)下采用梯形曲线规划。同时,基于芯片内部的HPDF模块,方案能以低成本实现高精度In-line电流的采样。 在消费电子领域,传统打印机需要使用4路高成本步进细分控制芯片,兆易创新3D打印机方案通过ARM® Cortex®-M7内核的GD32H7,搭配低成本的H桥驱动,实现4轴步进细分控制。其自研的XYZE 4轴细分控制算法,最高实现1024个细分,让正弦波电流同静音效果都得到最大优化。在整体指标上,该方案可媲美市场上主流方案,最高打印速度600mm/s,最大加速度20000mm/s2(某款机型,其他机型需适配实测)。 此外,工具领域中,锂电电钻方案采用Cortex®-M4内核的GD32F310系列作为主控,以精简的外围器件实现优异控制性能,目前已在头部园林工具客户中实现批量生产。    面对民用低空飞行和人形机器人这两大今年行业热点,兆易创新也带来了相应解决方案。    在民用飞行器的飞控模块上,采用ARM® Cortex®-M4内核的高性能GD32F4作为主控芯片,主频高达240MHz,支持Betaflight开源平台,电调模块则采用高性价比的GD32E231系列(Cortex®-M23内核,主频72MHz),兼容AM32开源软件及兆易创新自研电调控制固件。    针对人形机器人,兆易创新提供全场景解决方案,在灵巧手部分,可通过 GD32E513/GD32G553实现单MCU多电机控制,或采用集成EtherCAT®的GD32H75E方案完成手部姿态算法、动作协调与通讯互联;雷达控制部分由GD32F303系列辅助FPGA实现感知功能,GD32F470系列为雷达算法提供算力支持;手臂/腿部关节部位则可通过GD32E513/GD32G553/GD32H7及GDSCN832构建高性能、小体积、多电机的控制方案。 以技术深耕构建全维度竞争力 除了丰富多元的解决方案,兆易创新在算法与开发支持层面同样表现突出。其核心算法已覆盖BLDC与正弦波两大控制领域,所有MCU型号均支持有传感器与无传感器两种定位方式,同时集成无感启动算法及多种保护算法,为电机控制的稳定性与安全性提供坚实保障。在开发套件方面,兆易创新提供了多种入门级电机评估套件,包括针对工业级、消费级、汽车级的FOC套件及常规BLDC套件,用户可通过官网渠道申请获取。更重要的是,其构建了完整的GD32开发生态体系,从产品开发套件、解决方案到IDE&编译器及开发量产工具,全面覆盖市面上各类主流应用场景,为开发者提供全流程支持。    目前,兆易创新已构建起完善的量产产品矩阵,覆盖从入门级M23内核、主流级M4内核到更高性能的M7内核产品。公司还在各细分领域深耕细作,持续投入资源打磨技术与产品。除电机控制方案外,兆易创新还提供数字电源、IoT等领域的解决方案,并与合作伙伴携手,共同拓展更细分的控制应用场景,为产业发展提供更全面的支持。

    GD

    GD32MCU . 2025-08-07 1245

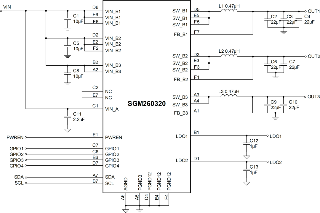
  • 产品 | 圣邦微电子推出 SSD 系统供电的高效率低功耗 PMIC SGM260320:集成三路 Buck、两路 LDO 及负载开关

    圣邦微电子推出 SGM260320,一款集成三路 Buck、两路 LDO 及负载开关的高性能电源管理集成电路(PMIC)。该芯片凭借卓越的电气性能和丰富的功能特性,不仅能精准满足 SSD 系统对高能效和低待机功耗的核心需求,还能简化板级电路设计,并通过 OTP(一次性编程)和 I²C 接口实现智能控制,为 SSD 系统、FPGA、微控制器等终端设备提供高效供电方案,助力其实现智能化管理升级。 超强集成,单芯片解决多 Rail 供电 SGM260320 将多种电源功能集成在小巧的 WLCSP-2.42×2.82-36B 封装中,替代分立器件显著节省板级空间。    三路高性能 Buck 转换器:Buck1 支持最大 4A 输出电流,Buck2/Buck3 各支持 3A 输出电流,工作频率 1.125MHz 或 2.25MHz,输出电压精度 ±1%,调节电压范围覆盖 0.6V 至 2.991V 或 0.8V 至 3.9875V,可灵活调节,精细步长 9.375mV/12.5mV,精准匹配不同应用的电压需求。   两路高稳定 LDO:LDO1/LDO2 最大输出为 300mA,电压调节范围和步长与 Buck 一致,确保供电协同。   智能负载开关:Buck1 和 LDO1/LDO2 均可配置为负载开关,轻松应对 3.3V 总线等场景的供电切换需求,提升系统灵活性。 高效节能 + 灵活调控,性能全面拉满 效率与智能双优,让供电系统更可靠、更省心。   高能效表现:Buck 采用同步整流技术提升转换效率,3.3V 转 2.5V 效率高达 95%@1A,配合 COT 控制架构实现卓越瞬态响应。中重载时稳定运行于 PWM 模式以降低纹波,轻载时自动切换至节能模式(PSM),最大限度减少静态电流。用户可根据具体应用场景,灵活优化功耗、纹波和瞬态响应,降低待机功耗,其功耗表现完全满足 SSD 系统低待机功耗需求。    动态电压调节(DVS):三路 Buck 支持通过 I²C 接口、GPIO 引脚或睡眠模式触发等方式实现 DVS。可根据工作负载需求动态调整电压以优化功耗,电压转换无缝衔接。    出厂客制化配置:通过代码矩阵索引(CMI)预设参数,可针对不同需求编程配置每个通道的上电输入触发源(Trigger)、开启延时、默认电压等参数,4 个 GPIO 均支持 EXT_PG、DVS、SYS_EN、nRESET 等 8 种丰富的配置功能,无需改动硬件即可实现系统针对性优化,大幅提升适配效率。    I²C 智能控制:通过 1MHz 高速 I²C 接口,可实时调节输出电压、开关频率等关键参数,同时支持电源状态监控,实现电源良好(PG)、过压(OV)、欠压(UV)、过流(OC)等多种故障预警。    全场景稳定适配:输入电压范围 2.7V 至 5.5V,支持 -40℃ 至 +125℃ 宽温工作,无论是消费电子还是工业设备场景,均能保持稳定可靠运行。 多重保护,供电安全无忧 内置全方位保护机制,为设备提供坚实可靠的安全保障。    输入过压/欠压(OV/UV)、输出过压/欠压(OV/UV):精准监控电压波动,避免异常电压波动影响器件和负载。    输出过流(OC)、短路保护(SCP),搭配热关断(TSD)功能:有效防止芯片因过载、短路导致过热损坏。    可编程电流限制:可根据不同负载需求灵活调整电流阈值,适配性更强。 广泛适用,适配多场景应用 无论是数据存储、工业控制还是智能设备领域,SGM260320 均能适配,满足多样化供电需求。    固态硬盘(SSD):为控制器和存储单元提供稳定的多路供电,其高转换效率、低功耗及动态电压特性,在数据高速读写过程中持续保障电源稳定,为存储系统的长效运行奠定坚实基础。    FPGA 与微控制器:精准匹配核心芯片的动态电压需求,助力高性能运算稳定运行。    个人导航设备:依托宽温特性与高效节能设计,有效延长设备续航时间。 典型应用电路 & 封装设计 SGM260320 为 SSD 系统供电提供完整的电源解决方案,助力产品实现小型化设计。器件采用符合环保理念的 WLCSP-2.42×2.82-36B 绿色封装,体积小、散热性能优异,尤其适合对空间要求较高的设计场景。    通过高集成、高效率与智能化控制,SGM260320 为多领域设备供电带来更优方案,推动终端产品在性能、可靠性与小型化上的全面升级。 图 1 SGM260320 典型应用电路 图 2 SGM260320 封装示意图  

    SSD

    圣邦微电子 . 2025-08-07 1275

  • 技术 | 如何使用工业级串行数字输入来设计具有并行接口的数字输入模块

    MAX22190 和 MAX22199 默认提供串行化数据,但在需要实时、低延迟或更高速度的系统中,最好为每个工业级数字输入通道提供电平转换的实时逻辑信号。这些工业级数字输入在基于SPI或引脚(LATCH)的时序控制下,对8个24 V灌电流输入的状态进行采样和串行化,以便用户可以通过SPI读出8个状态。使用串行接口可以尽量减少需要隔离的逻辑信号数量,对于高通道数数字输入模块很有帮助。 逻辑信号的串行化是指通过对信号进行同步采样,将信号变成时间量化的形式。但这意味着实时信息内容会丢失。在某些系统中,这种信息丢失可能会引发问题。例如,增量编码器或计数器等应用关注开关信号之间的时序差异。这些应用要么需要采用高速采样和高速串行读出,要么需要利用 MAX22195所提供的非串行化并行数据。通过并行操作方式使用MAX22190/MAX22199,能够实现诊断功能和配置灵活性。本文深入探讨了这种方法的特点、局限性和设计考量。 详情 这项技术的核心在于将8个LED输出用作逻辑信号。LED可以直观地指示数字输入的状态,这对于安装、维护和使用都很有用。IEC 61131-2标准明确定义了工业级输入的特性和规格,而输出状态本质上是二元的:要么为开,要么为关。    MAX22190/MAX22199采用无能耗LED驱动器,LED由现场传感器/开关供电,而不是从数字输入模块中的电源获得电流/功率。这些器件将输入电流限制在由REFDI电阻设置的某一水平。这样做是为了尽量降低模块的功耗。对于常见的1型/3型数字输入,输入电流通常设置为约2.3 mA(典型值),大于IEC标准要求的2.0 mA最小值。IC将约2.3 mA现场输入(IN)电流的大部分传输至LED输出引脚,芯片仅消耗约160 µA电流。    LED驱动器输出的是电流而非电压,因此需要将电流转换为电压,才能与其他逻辑器件(如数字隔离器、微控制器等)对接。为了实现此目的,电阻是最简便的跨阻元件,如图1所示。 图1. LED引脚用作基于电压的逻辑输出。 产品数据手册中没有介绍如何以这种方式使用LED输出引脚。本文探讨了其特性和可能的局限性。 LED引脚特性 在LED引脚上使用接地电阻来产生电压输出时,需要考虑以下事项: LED引脚容许的最大电压是多少? 从LED引脚到IN引脚是否存在交互/反馈?具体来说:由于IEC标准规定了最小电流水平,LED引脚上的电压是否会导致IN输入电流发生变化? LED输出电流是否表现出不良的瞬态行为,例如过冲或上升/下降缓慢?  当输入以高速率切换时,LED输出是否适合用作高速逻辑信号? LED输出是否需要滤波?(可通过SPI编程) 根据MAX22190/MAX22199数据手册所列的绝对最大额定值,容许的最大LED引脚电压为+6 V。因此,LED引脚适合用作5 V(和3.3 V)逻辑输出,但须注意,电压不得高于6 V。    需要评估LED引脚电压对其他关键特性的影响。特别值得关注的是在高LED引脚电压下IN输入电流的变化,因为相关标准对IN输入电流有明确要求。对于3型数字输入,要注意的关键情况是现场电压接近所定义的11 V导通状态阈值电压时。    对于接近11 V电平的三个现场输入电压(9 V、10 V和11 V),图2显 示了实测的现场IN电流与LED引脚电压的依赖关系。之所以选择 10 V和9 V电平,是因为它们处于3型输入的过渡区间内,并且它 们的输入电流没有最小值要求,而11 V要求输入电流的最小值为 2 mA。    当现场电压为11 V阈值时,蓝色曲线显示:当LED电压高于约5.8 V时,IN电流开始下降。在6 V时,电流仅下降0.6%。对于9 V和10 V的情况(它们处于对电流无明确要求的过渡区间),测量结果显示:对于高达5.5 V的输入,输入电流仍然高于2 mA。    总之,以上结果表明MAX22190/MAX22199能够产生5 V LED逻辑输出(及3.3 V等较低电压逻辑输出),同时仍然兼容3型数字输入。对于1型数字输入,情况非常简单,因为导通阈值为15 V,要高得多,因而LED引脚也能提供5 V逻辑电平,而不会对现场输入电流产生任何影响。 图2. 现场输入电流与LED引脚电压的依赖关系。 关于切换条件下LED输出电流的瞬态行为,图3显示了10 kHz切换的情况。使用1.5 kΩ电阻将电流转换为电压。示波器截图显示,LED输出不会产生可能损坏逻辑输入器件的瞬态过冲或下冲。上升和下降时间很快,不会造成信号失真。 使用SPI接口 MAX22190/MAX22199具有SPI可编程滤波器,支持每通道毛刺/噪声滤波。这些器件提供8个最长20 ms的滤波时间常数。针对高速应用,可以旁路滤波器。选定的噪声滤波也适用于LED输出,以使视觉表现与电信号一致。    诊断通过SPI提供,例如低电源电压报警、过热警告、REFDI和REFWB引脚上的短路检测及现场输入的断线检测。    寄存器位的上电默认状态为: 所有8个输入都处于使能状态 所有输入滤波器都处于旁路状态 断线检测处于禁用状态 REFDI和REFWB(仅限MAX22199)引脚的短路检测处于禁用状态    因此,在不需要毛刺滤波(比如对于高速信号)和诊断的应用中,无需使用SPI接口。如果需要每通道可选的毛刺/噪声滤波,或者需要诊断检测功能,则可以使用SPI。 并行操作示例 图3显示了一个10 kHz现场输入(黄色曲线)及所产生的LED输出电压(蓝色曲线)。LED输出上使用了一个1.5 kΩ电阻,以提供3.3 V逻辑信号。毛刺滤波已禁用(默认旁路模式)。 图3. 10 kHz切换;通道1:现场输入;通道2:LED输出。 LED输出波形没有显示出过冲或其他不良的异常现象,例如导通状态下电压变化不定。这说明LED输出可以用作电压输出。我们对其特点和局限性进行了研究。 毛刺滤波 MAX22190和MAX22199提供每通道可选的毛刺滤波。下面以滤波时间设置为800 µs的200 Hz开关信号为例,展示毛刺滤波器对LED输出的影响。指定的毛刺宽度通过改变占空比来模拟。对正毛刺和负毛刺均进行了研究。    图4显示了750 µs正脉冲被800 µs毛刺滤波器滤除的示例。因此,正毛刺滤波对LED输出和SPI数据均有效。   然而,负毛刺并未在LED输出端被滤除,如图5所示,750 µs下降脉冲传播到LED输出端。这与使用SPI读出数据的情况不同,后者的正毛刺和负毛刺均被成功滤除。 图5. 负毛刺滤波。 图6显示了使能800 µs毛刺滤波器且输入以50%占空比切换时的LED输出信号。上升沿延迟约770 µs,而下降沿没有延迟。这说明滤波器未能妥善处理LED输出。  图6. 对LED输出的滤波效应。 高频切换 对于要求高开关频率、低传输延迟或低偏斜的应用,毛刺滤波会被禁用。在旁路模式(毛刺滤波器)和100 kHz输入下,LED输出产生图7所示的波形。下降沿显示出约60 ns的低传输延迟,但上升沿具有显著的传输延迟和抖动。上升沿抖动在±0.5 µs范围内,平均传输延迟为约1 µs。上升延迟和抖动的原因是约1 MHz的采样,如数据手册中所述。在下降沿不会发生采样,因此响应速度很快。 图7. 100 kHz输入切换,滤波器旁路。 这表明,LED输出具有最大约1.5 µs的上升时间/下降时间偏斜,并 伴有抖动。通道间偏斜在下降沿较低,但在上升沿要高得多。 这可能会限制LED输出在某些应用中的使用。 设计考量 本部分讨论LED输出引脚用作电压输出时需要考虑的一些事项。    为确保安全,应当对MAX22190/MAX22199电流驱动型LED输出的电压进行限制,使之不超过所驱动的逻辑输入的安全电平。虽然REFDI电阻将IN现场输入电流设置为典型电流水平,但实际IN电流存在±10.6%的容差,如数据手册中所述。因此,电阻两端的电压将在±10.6%范围内。逻辑输入通常存在严格规定的绝对最大额定值,如VL + 0.3 V,其中VL为逻辑电源电压。当连接两个逻辑信号时,通常使用公共VL电源来确保匹配,因为标准逻辑输出采用推挽或开漏输出,其最大输出电压由逻辑电源VL定义/限制。为了确保输入不超过绝对最大额定值,可以降低典型LED引脚的输出电压。或者,可以认为LED引脚的约2.3 mA输出电流不会对逻辑输入造成损害,因为逻辑输入通常设计成能够承受远高于此的闩锁电流(一般在50 mA至100 mA范围)。这需要针对所考虑的器件进行验证。第三种方案是通过箝位来限制电压,此方案相对而言不理想。    标准逻辑输出为推挽式,阻抗较低,为驱动逻辑输入提供了很好的灵活性。相比之下,LED输出是开漏输出,开关速度由下拉电阻和寄生电容决定。   在无额外电容的情况下,可以实现100 kHz及以上的开关频率。 结论 虽然根据文档的说明,MAX22190/MAX22199工业级数字输入用于串行数据操作,但它们也可用作提供8个并行输出的8通道输入模块。为实现此目的,原本用于视觉状态指示的LED驱动器被转用作基于电压或基于电流的逻辑输出。以这种方式使用并行操作时,是否使用SPI接口并非强制要求,用户可以获得所有诊断和器件配置功能,但也存在一些限制。

    ADI

    亚德诺半导体 . 2025-08-07 1 855

  • 产品 | 换“芯”升级!多家银行双标卡背后的技术密码

    近日,中国电子所属华大电子凭借其自主研发的CIU9872B_01系列芯片产品,成功助力中国银行、工商银行、中信银行、广发银行、民生银行等多家银行发行银联-VISA双标卡。这款集银联PBOC标准与国际EMV标准于一体的芯片卡,有效解决传统磁条卡在安全性与兼容性方面短板,标志着我国金融芯片产品实现从本土化到全球化的跨越式突破。 一张信用卡同时印有银联和Visa标识,既能在国内使用也能在国外刷,这就是双标卡。过去,大多双标卡采用磁条形式,但如今,随着时代和支付市场的发展,芯片卡已逐渐成为主流。芯片卡支付账单无需繁琐插卡、输入密码,只需轻轻一拍即可完成,这在当今快节奏的消费场景中,便捷性尤为突出。近日,多家银行已开始将磁条双标卡升级为芯片卡,其中搭载的芯片就是华大电子自主研发的CIU9872B_01系列芯片产品。    CIU9872B_01系列芯片产品延续前一代产品技术路线,重新定义金融IC卡芯片技术标杆,致力于构建全场景支付生态,提升全生命周期价值,具有小场强、超低功耗、高性能、高可靠、多接口等优势。同时,该产品采用EMV双应用标准,支持 VISA 和银联最新非接标准,实现“一卡走天下”——境内银联、境外银联/VISA网络全覆盖,轻松应对境内外插卡、拍卡全场景支付。    值得一提的是,CIU9872B_01系列芯片产品于5月最新通过国际最高安全等级CC EAL6+认证,产品生命周期远超行业水平。同时,该产品获得EMVCo、商密二级、CCRC EAL5+银联芯片安全认证等权威资质,通过北京国家金融科技认证中心严苛测评,构建从芯片设计到生产制造的全链路安全防护体系,不仅提升用户体验,更显著降低金融机构换卡成本,助力生态伙伴快速开拓海外市场。

    华大

    CEC中国电子 . 2025-08-07 1855

  • 芯查查报告 | TI悄然对6万余款产品全面调价,对国产模拟芯片和终端厂商有何影响?

    近日,根据芯查查对产业链的跟踪,TI已经通知部分客户将对产品进行涨价,本次涨价每个客户涨价情况不一,但涨价品类和涨价幅度远超6月2日那次涨价。据悉,本轮涨价涉及6万多个产品料号,其中6.5%的料号涨价小于10%、37.6%的料号涨价10%~20%、14.4%的料号涨价20%~30%、41.3%的料号涨价超过30%,工业和汽车等长周期应用领域的产品涨价幅度普遍较高。   不过,据业内人士透露,TI此次涨价中也有一些汽车客户并没有涨价;工业客户中在年度议价周期内的客户也没有涨价;但是大部分中小客户都已经涨价。由于TI并没有发布正式的涨价通知函,目前所有的TI涨价信息都是产业链内的企业传出来的消息,不过可以确定的是,TI确实已经涨价。 那么,TI为何在这个时候连续涨价,涨价的目的是为了修复毛利率低下的战略选择,还是行业回暖的信号释放?TI涨价对国产模拟芯片厂商及终端厂商有哪些影响呢? TI“静默式涨价”全貌,策略性提价的背后原因分析 2025年5月29日,TI开始悄然对毛利率较低、有下一代新产品储备的产品进行涨价,当时的涨价思路是重点对前期降价幅度较大、毛利率较低的产品,比如汽车模拟IC和通用电源IC,进行涨价,此次涨价可以视为TI的一次小范围试水。   8月初,仅仅过了两个月之后,TI又启动了新一轮涨价,而且此次涨价规模之广、力度之大远超市场预期。TI的这两次涨价都有哪些特点?   首先,6月试探,8月全面爆发。6月份涨价产品涉及3,300多个料号,比如ADC/DAC、运放、LDO、DCDC、隔离等,其中以信号链产品涨价幅度较大。8月,涨价范围增至6万款料号,覆盖几乎所有行业客户,涨幅普遍在10%~30%之间。   其次,工业和汽车类应用领域产品全面上调。8月份调价的6万多个料号中,涨幅超过30%的料号占比达到41.3%,这些高涨幅的产品主要集中在工业控制、汽车电子等长周期领域。工业领域(PLC前端芯片、通信接口芯片)和汽车电子(车规级PMIC、BMS隔离芯片)成为涨价重心,部分16位ADC和电源管理芯片涨幅达20%-28%。这两大板块是TI营收与利润的支柱,涨价意在巩固其高利润市场。   三是分步策略与产品迭代。6月份涨价产品聚焦在信号链产品,8月转向电源管理(LDO、DCDC等),以及数字隔离器、隔离驱动芯片等关键器件,逐步优化利润结构。同时,TI通过大幅提高老款料号的价格,引导客户转向利润更高的新一代产品,加速技术更新。比如有代理商表示,某款2018年发布的DCDC转换器涨价了22%,但更新款的替代型号价格仅微调了5%。   四是中国市场考量。自从2023年TI加入模拟芯片价格战以来,其产品售价与国产模拟芯片价格相差不大,这使得其中国区毛利率长期低于全球平均水平。面对国内市场的激烈竞争和长期的“价格战”,TI需要通过价格调整来缓解利润压力,平衡区域性盈利表现。   其实,TI此次涨价是多重因素共振的结果。模拟芯片行业在经历了两年多的高库存和价格战之后,今年年初开始,复苏的暖意逐渐显现。TI财报显示,Q1和Q2营收分别同比增长11%和16%。ADI等同行也确认工业市场复苏、渠道库存下降。TI选择此时涨价,既顺应市场需求回暖,也向行业传递“冬天已过”的信号。   图:主要封装测试厂商稼动率情况统计(中电港芯查查统计)   作为为数不多的IDM厂商(集芯片设计、制造、封装测试于一身),TI拥有高度垂直整合的供应链。这赋予了它在产能规划、成本控制和市场定价上的自主权和灵活性。在芯片成本(如高纯度硅片)、运营成本持续上涨的背景下,TI通过涨价来消化成本压力,并保障其领先的毛利率水平,是符合其长期战略的。IDM模式的“护城河”也让其在提价上更有底气。   此外,近年来的地缘政治与市场博弈也起了一定的作用。美国发起的“对等关税”政策现在都还在博弈当中,这让半导体行业的未来也充满不确定性。TI此举在追求自身利润最大化的同时,或许在某种程度上调整其在中国市场的竞争策略,寻找新的平衡点。   对中国模拟芯片厂商的影响 TI的这波涨价潮,无疑为国产模拟芯片企业带来了很大的机会。过去数年,国内模拟芯片厂商在国产替代的浪潮中取得了长足的进步,从消费级到工业级,甚至部分汽车级产品都具备了较强的自给能力。比如圣邦股份、纳芯微、思瑞浦、杰华特等一大批国内模拟芯片厂商在电源管理、信号链、MCU等领域异军突起,逐步蚕食TI等国际半导体厂商的市场份额。   如今,TI涨价,下游客户的成本压力剧增,寻求替代方案的意愿将会更加强烈。这无疑是国产模拟芯片厂商加速导入、抢占市场份额、实现更大突破的历史性窗口。率先推出价格战,这在某种意义上来看,TI在竞争中开始示弱。   不过TI选择此时涨价也有一定是市场因素。这个时间段刚好是大家将更多产能投入先进制程制造的阶段,对于模拟芯片常用的成熟制程产能正显得有些不足。我们看到晶圆代工厂,比如SMIC和华虹,近期业绩有望超预期,稼动率有望回升,但从芯片设计、流片代工、封装测试,到最终量产交付,整个产业链的协同和产能爬坡需要时间和投入。面对突增订单,国产模拟芯片厂商能否快速扩产,稳定供货成为关键。因为,即便有订单上门,若无法保证稳定、大规模的供货能力,这份“天上掉下来的馅饼”也可能变成“看得见吃不着”的难题。   此外,在一些高技术壁垒、对可靠性要求极高的工业和车规级领域,国产芯片在产品线广度、技术深度、长期稳定供货以及客户服务方面,与TI等国际厂商相比,仍存在差距。如何利用这次窗口期,不仅抢份额,更要借势提升技术和品质,才是国产替代的真正考验。   对终端企业的影响 面对国际半导体厂商的涨价,下游终端企业无疑首当其冲,成本将会骤然上升。此时,一套行之有效的“生存法则”至关重要。因此,芯查查建议: 首先,紧急沟通,力争不涨或少涨。对于已经收到涨价通知的终端企业,尤其是采购量大、议价能力强的龙头企业,应该立即与TI原厂及代理商进行深度沟通和谈判,争取获得更优的涨幅,或延缓涨价,减少公司成本支出。 其次,短期囤货,化解燃眉之急。在市场价格传导完全之前,对需涨价的关键料号,可考虑适度加大库存备货,以对冲短期成本上涨,并为后续的战略调整赢得时间。但也要警惕过渡囤货带来的资金压力和库存风险。 三是灵活调整,探索同品牌替代。在尚未完全导入国产化方案前,可主动与TI或其他国际品牌沟通,了解是否有同品牌内未涨价或涨幅较低的替代型号,以保持供应链的稳定性。 四是加速国产化替代进程。这是应对单一供应商风险、实现供应链自主可控的长期根本策略。企业应立即加速对国产模拟芯片的评估、测试和导入,建立并完善多元化供应商体系,降低对少数国际半导体厂商的依赖。 五是锁定长期价格,防患未然。对有明确长期需求预测的关键料号,可尝试与TI或其他主要供应商签订长期采购协议,锁定未来一段时间的价格,确保采购成本的可预期性。

    模拟芯片

    芯查查资讯 . 2025-08-06 10 3 8163

  • 企业 | 纳微半导体公布2025年第二季度财务业绩

    2025年第二季度营收达1450万美元   宣布将进一步聚焦AI数据中心及其能源基建领域,通过与生态系统内的领军企业开展战略合作,并利用新增1亿美元融资,携手全新的低成本制造合作伙伴,实现进一步发展    加利福尼亚州托伦斯2025年8月4日讯 – 纳微半导体(纳斯达克股票代码:NVTS)今日公布了未经审计截至2025年6月30日的2025年第二季度财务业绩。    纳微半导体首席执行官兼联合创始人Gene Sheridan “尽管面临全行业性的挑战,我对纳微在第二季度的表现感到满意。我们基于与英伟达(NVIDIA)及该领域其他领军企业的合作,正进一步聚焦AI数据中心和相关能源基建领域。此外,我们通过出售约2000万股普通股筹集了1亿美元额外资金,并宣布与一家新的8英寸氮化镓代工厂建立合作,以扩大产能并降低成本,这两项举措都将支持我们布局AI数据中心这一快速增长市场的计划。   过去五年,我们成功为氮化镓移动快充创造了全新市场,如今我们计划打造一个规模更大的新兴市场,涵盖面向AI数据中心及其关键能源基建的氮化镓和碳化硅技术。我们预计,到2030年,氮化镓和碳化硅技术将助力AI数据中心服务器机架功率容量提升100倍,相关市场潜力将扩大至26亿美元。” 2025年第二季度财务亮点 营收 2025年第二季度总营收为1450万美元,2024年同期为2050万美元,2025年第一季度为1400万美元。   营业亏损 本季度的GAAP营业亏损2170万美元,2024年同期营业亏损为3110万美元,2025年第一季度营业亏损为2530万美元。    非GAAP营业亏损为1060万美元,2024年同期营业亏损为1330万美元,2025年第一季度营业亏损为1180万美元。   现金 截至2025年6月30日,现金及现金等价物增至1.612亿美元。    市场、客户和技术亮点 NVIDIA选中纳微半导体参与下一代800V HVDC数据中心电源架构开发,纳微的全系列氮化镓和碳化硅产品将在三个功率转换级发挥作用:    第一级:固态变压器(SSTs)有望取代老旧的低频变压器(LFTs),借助纳微独特的超高压(UHV)碳化硅技术提升电网效率和稳定性,预计到2030年创造约每年5亿美元的市场机会。    第二级:800V DC/DC转换器可利用纳微的高压氮化镓和碳化硅产品,结合纳微全新的80-200V氮化镓产品,以实现最高效率和功率密度,预计到2030年的相关市场机会将达每年10亿美元。    第三级:为AI处理器供电的48V DC/DC转换器可采用纳微全新的80-200V氮化镓产品,以实现最高效率和功率密度,预计到2030年相关市场机会将达每年12亿美元。    研发时间表:每个功率级的初步客户评估已完成,最终工程样品预计于第四季度推出;预计2026年完成最终供应商选择和系统设计,于2027年实现量产。    宣布与力积电(Powerchip)达成合作,由其生产一流的8英寸180nm氮化镓产品,以支持更高水平的集成,预计将降低成本并扩大产能,助力实现AI数据中心技术路线图和增长目标。   通过普通股发售筹得9700万美元净现金,这笔资金将为公司的研发及增长计划提供支持,重点投向AI数据中心及相关能源基础设施市场。    纳微将聚焦移动、消费及家电领域中的高端市场,引领该细分领域发展,此举将优化营收结构,并逐步提升利润率,同时在不增加短期运营支出的前提下,加大对AI数据中心和相关能源基建领域的关注与投入。    持续领跑高端氮化镓快充市场,小米采用纳微推出目前全球最小、最快的90W充电器,其尺寸仅与12W硅基充电器相当。 业务展望 2025年第三季度净营收预计为1000万美元,上下浮动50万美元,主要受关税风险及更具选择性的移动快充业务战略影响。第三季度非GAAP毛利率预计为38.5%,上下浮动 0.5%;非GAAP运营支出预计约为1550万美元。    纳微2025第二季度财务业绩电话会议和网络直播信息    重播: 可于纳微半导体官方网站的投资者关系页面回看https://ir.navitassemi.com/    非公认会计准则财务指标 本新闻稿和我们公开网播中的各项陈述含有未按美国公认会计准则计算的财务指标,我们称之为 “非公认会计准则财务指标”,包括(i)非公认会计准则毛利率、(ii)非公认会计准则营业费用、(iii)非公认会计准则运营损失、(iv)非公认会计准则每股亏损。这些非公认会计准则财务指标均从公认会计准则结果调整而来,排除了某些费用,排除项目概况见后文表内“公认会计准则财务指标调整为非公认会计准则财务指标”部分。我们相信这些非公认会计准则财务指标向投资者提供了有关公司经营业绩的有益补充信息,将与公司经营无关的项目排除在计算之外,以便投资者比较不同时期的财务指标。我们认为,通过非公认会计准则财务指标可以快速了解公司经营情况,即将非公认会计准则财务指标与公认会计准则指标相结合,通过把非公认会计准则财务指标调整至公认会计准则财务指标,能够更全面了解公司经营业绩。尽管如此,上述非公认会计准则财务指标应视为补充,并不优于也不能替代根据公认会计准则计算的财务指标。    有关前瞻性陈述的提醒        本新闻稿(含“业务展望”部分)包括《1934年证券交易法》(修订后版本)第21E条所指的“前瞻性陈述”。所谓“客户项目价值”及相关信息均属前瞻性陈述。其他前瞻性陈述可能使用诸如“我们预计” “预计”“估计”“计划”“规划”“预测”“打算”“预期”“相信”“寻求”,也可能使用旨在预测或表明未来事件、趋势或者并非陈述历史情况的其他类似表达。客户项目价值和其他前瞻性陈述的依据是有关财务和业绩指标的估计和预测,以及有关市场机会、市场份额的前瞻等等。无论本新闻稿中是否具体说明,以上陈述内容均系于各种假设、基于纳微管理层的当下预期,并非实际业绩预测。前瞻性陈述仅供演示说明,不是针对任何事实或概率的担保、保证、预测或定论,投资者也不可将前瞻性陈述当作事实或概率相关担保、保证、预测或定论信赖。实际事件和情况很难甚至无法预测,且会与假设和预期不同。诸多影响业绩的实际事件和情况超出纳微控制之外,以及影响前瞻性陈述的风险和不确定性众多。    与AI数据中心市场发展相关的风险。例如,尽管本新闻稿及相关网络直播中关于AI数据中心领域氮化镓和碳化硅功率半导体产品(由纳微及其他供应商提供)的市场发展及未来需求的陈述基于纳微认为合理的研究和分析,但这些陈述仍存在重大不确定性,尤其是纳微的产品旨在颠覆现有市场并创造新市场。与传统硅基解决方案等成熟市场不同(历史趋势具有一定预测价值),新市场面临独特挑战:        市场接受度及目标市场不确定性:在新兴市场中,对纳微产品及客户产品的需求难以预测,因为客户偏好可能尚未完全明确且变化迅速。此外,对我们产品的需求取决于新兴系统架构的接受度。例如,我们对800V AI数据中心电源应用中氮化镓和碳化硅基产品的预测,取决于对800V系统本身接受度和增长的假设。   缺乏历史数据:在成熟市场,营收预测可基于往期趋势支持;相比之下,针对新应用场景的产品几乎没有先例,导致传统预测方法可靠性降低。   竞争动态不可预测:若纳微的产品重塑或创造新市场格局,竞争环境可能以意想不到的方式演变。例如,可能出现新的竞争对手,或在纳微希望进入的市场(包括碳化硅市场)中,拥有成熟研发和制造资源及长期客户关系的传统竞争对手可能选择推出竞争性氮化镓或碳化硅解决方案。   行业周期性及波动性:半导体行业具有周期性波动特点。在新兴市场中,这种固有不确定性更为突出,需求可能因宏观经济事件、供应链冲击、监管变化或技术周期而大幅波动。        由于纳微的增长战略依赖于成功创造和拓展此前不存在的市场(或在纳微进入前存在显著差异的市场),纳微可能会经历营收增长不一致或低于预期的时期,且盈利能力可能受影响。这些因素可能对纳微的运营业绩和财务状况产生重大影响。投资者不应将过往业绩或管理层预测作为这些动态市场中未来业绩的指标。        其他风险:其他风险包括纳微能否为合理预算和调整支出而预测营收;能否拓展客户群并在新市场或地区建立合作关系;由于上述因素及其他因素(如未能成功将收购业务整合到纳微的业务和运营系统中),业务增长可能无法实现或无法在预期时间内实现;收购对客户和供应商关系的影响,或未能维持和拓展这些关系;其他业务发展努力的成败;纳微的财务状况和运营业绩;能否将技术拓展至新市场和应用;竞争对纳微业务的影响(包括在纳微希望进入的市场中已站稳脚跟且资源充足的竞争对手的行动,包括碳化硅市场);客户终端市场的需求水平及客户预测此类需求的能力(总体而言及针对各代产品或技术);能否吸引、培养和留住关键人才;政府贸易政策变化(包括关税征收及跨境投资监管,特别是涉及中美两国的政策);美国、中国及其他国家的其他监管动态;产品生产和销售地区发生流行病等事件的影响;以及能否保护知识产权。   这些及其他风险因素在纳微截至2024年12月31日的10-K表年度报告“风险因素”部分(第 15 页起)、最新10-Q表季度报告的“风险因素”部分及向美国证券交易委员会(SEC)提交的其他文件中均有讨论。若上述风险(及SEC报告中更详细讨论的风险)成为现实,或前瞻性陈述所依据的假设被证明不正确,实际结果可能与这些前瞻性陈述暗示的结果存在重大差异。     有关客户项目价值和设计定案项目的说明 “客户项目价值”指基于潜在客户对合格项目表达的兴趣所反映的预估未来业务潜力,以客户终端产品生命周期内可能实现的预估收入表述。“设计定案项目”指终端客户在特定生产项目中选用纳微产品,以客户终端产品生命周期内可能实现的收入表述。所有客户项目价值及设计定案项目信息均构成前瞻性陈述。客户项目价值与设计定案项目不构成订单、不可作为未完成订单或未来收入预估的替代指标,亦不得被视为任何其他财务绩效衡量标准。相反,纳微使用此类术语旨在表明公司对跨终端市场的未来潜在业务及相关变化的当前判断。时间范围因产品类型及应用而异。因此,实际实现的业务取决于以下因素:潜在客户最终是否选择纳微解决方案;在双重或多源供应情形下,客户项目中授予纳微解决方案的份额相对于其他供应商的比例;客户对所选解决方案的成功认证;客户启动生产所需的时间;客户进入全面量产阶段的持续时间与速度;以及纳微基于预期收入、利润率及下文“关于前瞻性陈述的警示声明”中所述的客户项目价值相关因素,在整个过程中作出的战略决策。    纳微半导体未经审计合并利润报表(公认会计准则)   (除每股金额外,单位均为千美元)    纳微半导体非公认会计准则财务指标调整为公认会计准则成果 (除每股金额外,单位均为千美元) 纳微半导体简明合并资产负债表 (单位:千美元)

    纳微

    纳微芯球 . 2025-08-06 3205

  • 方案 | 上海贝岭650V80A IGBT在光伏逆变器上的应用

    当今世界的主要能源来源还是化石能源,而化石能源在使用后会排出大量的污染物,严重影响到人类的健康问题。太阳能因其取之不尽用之不竭且无环境污染等优点,已经成为人类追求新能源的首选;太阳能的应用非常广泛,其中最主要的发电应用有光热发电、光伏发电等;在太阳能的多种应用中,光伏发电是目前世界上最为普遍的一种方式。    光伏逆变器是太阳能发电系统的心脏,它将太阳能电池板产生的直流电转化为符合电网电能质量要求的交流电,其性能直接影响发电效率、电网兼容性和系统可靠性。    绝缘栅双极晶体管(Insulate-Gate Bipolar Transistor—IGBT)综合了电力晶体管(Giant Transistor—GTR)和电力场效应晶体管(Power MOSFET)的优点,具有大电流、高电压、易驱动等良好的特性,广泛应用于光伏逆变器。上海贝岭一直积极研发新一代的IGBT技术,为满足市场终端需求,推出650V/80A IGBT单管BLG80T65FDH7,助力客户光伏逆变器应用高效率、高可靠性设计。 典型应用拓扑 上海贝岭IGBT单管BLG80T65FDH7,额定电流80A,耐压650V,对目前主流户用光伏逆变器拓扑Heric等都有很好的匹配, 同时也适用于三相NPC1和NPC2(横管)的应用。 表1  主流光伏逆变拓扑 BLG80T65FDH7 产品特点 上海贝岭BLG80T65FDH7采用新一代微沟槽多层场截止IGBT技术,通过微沟槽结构增加载流子注入效率,优化导通压降;场截止层加速关断时的载流子抽取,降低开关损耗;多层场截止结构提高高温稳定性;同时内部采用超快速软恢复二极管进行反并联。技术特性精准匹配光伏逆变器对高效、高频、高可靠性的需求。    性能特点: 优化开通损耗和关断损耗,开关频率高 低导通压降Vce(sat),减小器件的导通损耗 Vce(sat)正温度系数,易于并联使用 高BVces耐压能力 低VF和快软恢复二极管 HV-H3TRB加严可靠性验证,保证极端运行环境下使用寿命 符合175℃结温的工业级和车规级考核标准    BLG80T65FDH7 产品核心优势 4.1 效率优势——低饱和压降Vce(sat) 光伏应用中IGBT的导通损耗占总损耗比例较大,影响导通损耗的主要参数为VCE(sat),常温25℃和高温175℃下贝岭BLG80T65FDH7导通压降达到国际大厂水平,且比竞品略低。且随着结温上升,VCE(sat)正温度系数,有利于解决并联应用中的均流和热平衡问题。 图4.1 VGE=15V 饱和压降对比 4.2 动态性能升级——低开关损耗 在光伏逆变应用中,单管IGBT一般设计工作在20kHz左右,并且有高频化的趋势,因此降低IGBT开关损耗也尤为重要,上海贝岭BLG80T65FDH7降低导通压降,同时优化了开关损耗,如图4.2所示, BLG80T65FDH7开启损耗和竞品相差不大,关断损耗比竞品略低,总开关损耗略小于竞品,性能达到国际大厂 S5系列水平。 图4.2 IGBT开关损耗对比 4.3 IGBT合封二极管——较低VF 和Qrr BLG80T65FDH7合封较低VF的二极管,有利于降低二极管续流过程的导通损耗。如表2所示,贝岭IGBT合封二极管VF和竞品相差不大。 表2   IGBT合封二极管压降对比 相同测试条件下,BLG80T65FDH7合封二极管 Qrr比竞品更小,在高频应用中损耗更小,更有优势。 图4.3 IGBT合封二极管Qrr对比 4.4 温升表现良好——板级温升测试 上海贝岭BLG80T65FDH7基于优异的器件设计,各项参数和功率器件国际大厂I公司接近,部分参数更优,为光伏应用通过系统测试提供了保障。如图4.4,在常温环境下,上海贝岭BLG80T65FDH7和I公司产品在10kW光伏逆变平台测试,壳温基本一致,产品性能满足客户的需求。 图4.4 IGBT壳温对比 上海贝岭功率器件选型方案 上海贝岭功率器件产品系列齐全,包括MOSFET、IGBT等产品,满足客户各类光伏逆变器设计需求,具体型号参考表3: 表3 功率器件选型表 上海贝岭IC器件选型方案 上海贝岭在光伏逆变器领域产品配套齐全,除功率器件以外,还可以提供各类电源管理IC和信号链IC供客户选择,具体型号参考表4: 表 4 IC器件选型表

    上海贝岭

    上海贝岭 . 2025-08-06 1555

  • 产品 | 中微半导高可靠性32位CMS32F7系列 触控性能比肩国际

    中微半导体(深圳)股份有限公司(以下简称:中微半导 股票代码:688380)新推出基于Arm Cortex®-M0+内核的32位高性能触控芯片系列:CMS32F759与CMS32F737,这两款触摸芯片适合复杂触摸算法、多任务处理及丰富外设集成,在资源规模(存储/触控通道/多路串口)、抗干扰能力、显示集成度方面具备显著优势,可替代国际品牌。    CMS32F759/737核心优势 内核:Arm Cortex®-M0+@64MHz 存储:256KB ROM+3.5KB Data Flash,16KB SRAM 触控通道:多达49通道 UART通道:多达6路 LED驱动模块:灌电流驱动能力220mA,可直驱LED 抗干扰能力:CS 10V(动/静态)   国产替代优势 物理兼容:提供 LQFP44/48/64 封装,可直接替换现有PCB设计 功能兼容:电源(VDD/VSS)、复位(XRES)、调试接口(SWD)、PWM及UART等功能管脚定义完全一致 开发支持:图形化生成和调试工具,快速建工程,方便易用 替代优势:优异质价比,供应链灵活,生态无缝迁移,易过EMI/EMS,可靠性已验证    推荐替代场景 需大容量存储:智能家居HMI(图形菜单、语音提示) 高抗干扰需求:空调、冰箱、洗衣机、洗碗机、油烟机、热水器 高性能触控:高灵敏度、高抗扰、高防水 显示集成:需LED/LCD直驱的紧凑型设备等

    中微半导

    中微半导 . 2025-08-06 930

  • 产品 | Nexperia发布专为USB4和Thunderbolt接口设计的ESD保护二极管,保障10 GHz以上信号完整性

    基础半导体器件领域的高产能生产专家Nexperia(安世半导体)近日推出五款高性能1 V 保护二极管,可为交流耦合射频(RF)传输线路提供优化保护,有效防护静电放电(ESD)、浪涌电流及短路。其中包括PESD1V0C1BSF和PESD1V0H1BSF等型号,适用于手机、便携式电子设备、通信系统以及计算机与其他外设等应用中的USB4®和ThunderboltTM接口保护。    随着USB4和Thunderbolt接口的数据速率突破10 GHz,ESD保护器件需在确保提供出色射频性能的同时,有效防护敏感的IC免受ESD和浪涌脉冲的影响,尤其是在不合规USB Type-C接口中Vbus与TX/RX之间可能发生短路的情况下。理想的ESD保护器件的选择高度依赖于具体的印刷电路板(PCB)布局设计。虽然收发器IC与保护器件之间走线较短的电路板寄生电感小,有利于高频信号传输,但会削弱系统级ESD鲁棒性。而走线较长的布局虽因电感增加减少了钳位问题,却可能引发信号完整性问题。    Nexperia高级产品经理Stefan Seider表示: 通过全新保护二极管系列,我们为设计人员提供了灵活的选择,可根据其特定PCB布局选用合适的器件,实现最佳保护性能。此外,Nexperia还提供射频及SEED (ESD)仿真模型,以优化器件选型。   这些二极管可为USB4和Thunderbolt接口提供高达±18 kV的ESD防护,并具备出色的浪涌耐受性(平均Ipp可达9.6 A)。器件采用Nexperia广受业界认可的微型无引脚、超低电感DSN0603-2 (SOD962-2)封装,器件电容极低(低至0.1 pF),因此插入损耗极小(在12.8 GHz时低至-0.21 dB),且在高达40 GHz范围内无任何谐振现象。   

    ESD

    安世半导体 . 2025-08-06 990

  • 企业 | 恩智浦2025年二季度财报:优于预期,为未来复苏积蓄动能

    在全球半导体市场面临宏观压力与周期波动的背景下,恩智浦半导体(NXP)2025年第二季度交出了一份略优于预期的成绩单。    ● 总收入:29.26 亿美元,同比降 6%,环比增 3%; ● GAAP 毛利率:53.4%,非公认会计准则毛利率:56.5%; ● GAAP 营业利润:6.87 亿美元,非公认会计准则营业利润:9.35 亿美元。 ● 汽车业务:17.29 亿美元,环比增 3%, ● 工业与物联网:5.46 亿美元,环比增 7%, ● 移动:3.31 亿美元,环比降 2%, ● 通信基础设施及其他:3.20 亿美元,环比增 2%。    NXP通过自由现金流优化、混合制造战略深化以及汽车与工业物联网领域的持续投入,展示出强劲的结构性韧性。   围绕软件定义汽车(SDV)和智能边缘系统的产品与生态构建,正在逐步释放未来几年的增长潜力。 营收下滑中的结构稳定 恩智浦2025年第二季度实现: ◎ 总收入29.3亿美元,环比增长3%,同比下降6%,但略高于公司此前预测区间中点。 ◎ 毛利率和营业利润率均有所下滑,其中GAAP毛利率为53.4%,营业利润率为23.5%;非GAAP毛利率为56.5%,营业利润率为32%。 ◎ 净利润同比下降32%,至4.45亿美元; ◎ 每股稀释收益为1.75美元,而非GAAP调整后的稀释收益为2.72美元,环比提升3%。    从现金流看,恩智浦依旧展现出优秀的现金创造能力。    本季度经营活动产生的现金流为7.79亿美元,扣除8300万美元资本开支后,形成6.96亿美元的自由现金流,占季度收入的约24%。   其中66%的自由现金流(约4.61亿美元)回馈于股东,以2.04亿美元用于股票回购,2.57亿美元用于派息。    得益于健康的现金结构,公司总杠杆率维持在2.4倍,净杠杆率为1.8倍,尚处可控范围。 分业务看: ◎ 汽车业务仍是最大支柱,贡献收入17.29亿美元,占比达59%,同比基本持平。 ◎ 工业与物联网业务表现恢复良好,收入环比增长7%至5.46亿美元,尽管同比仍下降11%。 ◎ 通信基础设施及其他领域仍承压,同比下降27%。 ◎ 移动业务收入为3.31亿美元,略低于去年同期。   整体来看,汽车与工业的相对稳定对冲了消费类与通信市场的持续疲软,使得整体财务表现未出现断崖式下滑。   渠道方面: ◎ 库存水平维持在9周,与上季度持平,高于去年同期的7周,显示去库存周期接近尾声。 ◎ 同时,应收与应付账款天数(DSO与DPO)环比分别下降,现金转换周期改善至131天,表明公司在运营资本管理上控制得当。    NXP面临汽车需求放缓、消费电子复苏不及预期等挑战,通过高自由现金流、优异的成本控制和渠道库存稳定,展现出强于同业的经营韧性。     中长期逻辑强化:SDV战略与边缘智能平台布局深入 在应对短期压力的同时,恩智浦正在持续推进其长期增长引擎,尤其是围绕“软件定义汽车”和“智能边缘系统”两大方向的战略布局。    2025年二季度,恩智浦完成了对TTTech Auto的收购。这家专注于软件定义汽车安全系统和中间件的公司,将帮助恩智浦加速从硬件芯片提供商向系统级解决方案供应商转型。    这一并购与此前发布的S32平台形成协同,尤其是S32E2处理器的推广,将在域控制器和区域控制器等关键汽车电子架构中发挥核心作用。 恩智浦还与Rimac Technology达成合作,联合开发新一代SDV架构。    这套基于S32E平台的解决方案瞄准未来高端电动车对实时处理与多域集成的需求,试图在车载计算竞争中占据优势。这种以系统平台为核心、融合芯片与软件的模式,或将成为未来汽车电子市场的主流方向。    雷达芯片领域也有新进展。恩智浦于5月发布了第三代L2+至L4自动驾驶图像雷达处理器S32R47,采用16nm FinFET工艺,相比前代产品计算能力提升两倍。这标志着公司继续夯实在毫米波雷达市场的技术领先地位,尤其是在高端ADAS市场形成壁垒。   在工业与物联网板块,恩智浦强调其边缘智能战略,通过连接、安全、AI赋能的多维芯片组合,满足工厂自动化、建筑控制等领域对本地实时处理的需求。    根据麦肯锡与NXP自身预测,2024年至2027年,工业与物联网业务年复合增长率有望达20%,显著高于整体半导体市场的增速。    从混合制造战略来看,恩智浦继续推进前端与后端制造的适度外包。    2024年,公司前端制造外包比例为62%,后端仅为14%,体现出其在关键制程节点保有足够掌控力的同时,借助合作方灵活扩展产能。该策略一方面优化资本开支结构,另一方面增强了地缘风险管理能力。    2027年前,恩智浦计划逐步扩大内部关键制程能力,并强化与SSMC等合资代工厂的协作。    恩智浦强化了可持续发展方面的投入,其2024年温室气体排放(Scope 1+2)同比下降7%,可再生能源使用比例增加5个百分点。    这不仅符合全球主要客户的ESG合规趋势,也为其进入更多国际政府或车企供应链增加了合规优势。    围绕软件定义汽车与智能边缘系统的全栈平台构建,已成为恩智浦的战略主轴。    通过S32架构的技术落地、关键并购与系统级合作,公司正从传统的器件供应商向系统解决方案商跃迁。而混合制造策略与ESG整合,则为其在高波动性的全球市场中构建了更强的抗冲击能力。 小结 恩智浦在2025年第二季度的财报所展现出的,是一家“现金稳健、结构清晰、战略前移”的半导体企业,在营收同比下降、利润承压的背景下,公司并未选择收缩,而是通过收购、研发加码、系统协同等方式,为未来2~3年的复苏和增长积蓄动能。   从S32平台、毫米波雷达,到SDV软硬协同,再到工业边缘智能与混合制造弹性,这些结构性能力并非短期盈利所能完全体现,但正是其穿越周期的核心支撑。 

    NXP

    芝能智芯 . 2025-08-06 985

  • 产品丨朱雀 AI-Touch:防误触防水,让每一次触碰都精准随心

    你是否也曾经历过这样的尴尬时刻?    裤兜里的电话误拨领导,听筒突响令人慌乱,甚至群发私人信息引尴尬;水珠溅屏误下单,雨天湿手接不了司机来电,错过行程……    触控失灵总在不经意间打乱节奏,甚至因泄露隐私带来潜在风险。    或许触控技术的进步,应从细微处突破。当屏幕能分清有意触碰与无意干扰,上述困扰将迎刃而解。    上海海思朱雀临境显示推出 AI-Touch 触控解决方案,它专为手机触控量身打造。它具备防误触防水、又准又快、强抗干扰的卓越性能,让你告别手机裤兜误拨、水珠乱触、雨天操作失灵等烦恼。   AI-Touch 的技术亮点在于创新端侧 AI 核与高性能 RISC-V双核驱动模式,通过自主创新芯片设计与软件算法融合,让每一次操作都精准流畅,打造精准的触控体验,让误触成为过去。    三大核心优势  重塑触控技术新突破 AI 防误触,省心免失误:无论是口袋里的意外挤压,还是手掌的无意触碰,都能精准识别,有效避免误操作,告别尴尬时刻,使用更安心。    AI 防水渍,湿手也精准:无惧雨天的水滴,厨房的水渍、运动后的汗水,再也不会让屏幕失控。即便在潮湿环境下,触控依然精准灵敏,湿手操作也能得心应手。    AI 准又快,流畅不断线:指尖轻触,疾速响应,操作流畅顺滑无卡顿。无论是快速滑动,还是点击操作,都能一气呵成,带来行云流水般的电竞级触控体验。    作为行业内将 AI 核嵌入触控芯片的创新产品,朱雀AI-Touch以行业领先的技术竞争力,推进在各旗舰及中高端机型的验证与导入,引领触控技术新变革。   朱雀 AI-Touch,双核驱动,让每一次的触碰都恰到好处,精准丝滑又省心。

    海思

    海思技术有限公司 . 2025-08-06 2410

  • 产品 | 博通发布3nm芯片,连接100万XPU

    Broadcom现已推出 Jericho4 以太网结构路由器——一个用于分布式 AI 基础设施的平台。   Jericho4 系列在大多数企业网络中并不常见。这款 ASIC 专为大规模 AI 集群而设计,这些集群的目标是 100 万个 AI 加速器,并具有线速 MACsec 加密等功能。 随着 AI 模型规模和复杂性的增长,基础设施需求已超出单个数据中心的功率和物理极限。将 XPU 分布在多个设施中(每个设施配备数十至数百兆瓦的功率)需要一种新型路由器,该路由器经过优化,可实现跨区域、高带宽、安全且无损的传输。  单个 Jericho4 系统可扩展到 36,000 个 HyperPort,每个 HyperPort 的运行速度为 3.2 Tb/s,具有深度缓冲、线速 MACsec 和 RoCE 传输功能,传输距离超过 100KM。  维持长距离以太网链路的无损传输是标准数据中心交换机设计无法解决的挑战。    “RoCE 必须是无损的,否则就行不通,”Broadcom 的副产品线总监Amir Sheffer说。“现在它已经不再是 RoCE 了。如果不使用像 Jericho 这样的解决方案,支持长距离传输可能会成为阻碍。”   博通通过基于高带宽内存 (HBM) 的集成深度缓冲解决了这个问题,使路由器能够吸收拥塞,而无需将优先级流量控制 (PFC) 事件传播到相邻的数据中心域。通过这种方式,Jericho4 将长距离拥塞效应与本地计算结构隔离,从而在突发性 AI 工作负载下保持稳定性和吞吐量。    Broadcom 的 3.2T HyperPort 技术将四个 800GE 链路整合为一个逻辑端口,消除了负载平衡效率低下的问题,将利用率提高高达 70%,并简化了大型结构中的流量。    得益于深度缓冲和智能拥塞控制,Jericho4 可确保 100 多公里范围内的无损 RoCE,从而实现真正分布式的 AI 基础设施,不受单一位置的电力和空间限制。    Jericho4 支持每个端口全速进行 MACsec 加密,以保护数据中心之间移动的数据,即使在最高流量负载下也能提供强大的安全性而不影响性能。    HyperPort 基于博通 3 纳米工艺节点的 200-G PAM4 SerDes 构建,是一个 3.2 Tbps 以太网端口,可将四个 800-G 通道聚合为单个逻辑链路。虽然该设计尚未根据 IEEE 或 MSA 定义进行标准化,但每个 HyperPort 都保持完全的以太网数据包兼容性,同时在带宽效率和拥塞减少方面实现了显著提升。    该技术解决了跨多个 800-G 端口的传统 ECMP 负载均衡方法的缺陷,这些方法会因哈希冲突和流量分配不当而导致效率低下。在“大流量”占主导地位的 AI 工作负载下,这个问题尤为突出。HyperPort 通过增加有效流量宽度和提高端口级链路利用率来缓解这些问题。博通报告称,与 800GE 相比,带宽利用率提升高达 70%,这意味着设备间数据传输速度更快、作业完成时间更短,并且整体系统性能更佳,而无需更改现有的光纤或物理基础设施。    Jericho4 完全符合超级以太网联盟 (UEC) 制定的规范,确保跨开放式、基于标准的以太网 AI 结构实现互操作性。这使其能够与符合 UEC 标准的广泛 NIC、交换机和软件堆栈生态系统无缝集成。    具体而言,通过在 HyperPort 接口中保留了以太网数据包结构,以简化与现有软件定义网络堆栈和监控工具的集成。这为运营商提供了跨本地和区域域的统一、基于标准的结构。    符合标准的方法还使博通的技术成为未来开放架构的可扩展基础,特别是当超大规模企业寻求在通用编程和管理框架下统一分散的基础设施时。    博通软件产品/生态系统负责人 Hasan Siraj 表示:“任何构建加速器的人现在都可以采用该规格,并在其加速器中安装一个基于以太网的芯片,该芯片可以连接到任何以太网交换机。”    互操作性简化了采购和部署,同时减轻了供应商锁定,使 Jericho4 对构建长期 AI 基础设施路线图的客户具有吸引力。    博通表示,Jericho4 可作为广域横向扩展互连的补充,与该公司的 Tomahawk 和 Trident 平台形成互补。Tomahawk Ultra 和 Tomahawk 6 满足机架内和设施内互连需求,注重超低延迟和大交换基数,而 Jericho4 则支持设施间连接,同时保留相同的管理模型和路由策略。完全基于 Jericho4 的结构可以充当单个逻辑路由器,从而抽象出管理分布式系统的复杂性。    这种统一的架构理念使系统设计人员能够根据延迟、规模和地理限制,将 Tomahawk 和 Jericho 元素进行组合。据博通称,Jericho4 可以使用相同的基础芯片构建容量高达 51.2 Tbps 的固定尺寸或基于机箱的路由器。该平台还支持灵活的拓扑结构,适用于中央交换平面、模块化结构元素或分解式计算节点互连。    总结而言,Jericho4 系列专为跨数据中心扩展而构建,提供一系列满足 AI 工作负载特定需求的功能: 51.2 Tbps 可扩展深度缓冲容量: Jericho4 系列提供高达 51.2 Tbps 的惊人交换容量,位居业内前列。对于需要在数千个 GPU 或加速器之间传输海量数据的 AI 工作负载而言,如此高的吞吐量至关重要。其“深度缓冲”功能使其能够处理大量突发数据而不丢失数据包,即使在网络拥堵的情况下也能确保分布式 AI 训练的高性能和可靠性。 3.2T HyperPort 接口: HyperPort 将四个 800 千兆以太网 (800GE) 端口合并为一个 3.2 兆兆位/秒 (3.2T) 的通道,从而简化网络设计和管理。这减少了交换机和服务器之间所需的链路数量,同时最大限度地减少了数据包重新排序和网络效率低下的问题。因此,用户可以将作业完成速度提高 40%,并将网络利用率提高 70%,从而加快 AI 模型训练速度并更高效地利用计算资源。 线速 MACsec,支持超过 20 万条安全策略: MACsec(媒体访问控制安全)是以太网层数据加密的标准。Jericho4 交换机支持全线速 MACsec,可在不降低性能的情况下进行加密和解密。它支持超过 20 万条安全策略,可实现详细的安全控制,这对于多租户环境或“Neo Clouds”至关重要。这确保了敏感的 AI 数据在大型共享基础架构中快速传输时的安全。 端到端拥塞管理和 RoCE 无损传输: AI 工作负载容易受到网络拥塞和数据包丢失的影响,从而降低分布式训练的速度。Jericho4 的深度缓冲架构和基于硬件的拥塞管理功能支持使用 RoCE(基于融合以太网的远程直接内存访问 (RDMA))进行无损传输,确保在超过 100 公里的距离内实现可靠的数据传输。这些功能对于连接分布式数据中心或 AI 集群至关重要,能够提供始终如一的性能和可靠性。 每比特功耗降低 40%:随着数据中心不断发展壮大,以支持更大规模的 AI 模型和更多用户,能源效率至关重要。与前几代产品相比,Jericho4 的架构将每比特数据传输功耗降低了 40%。这降低了运营成本,并帮助企业实现可持续发展目标,从而能够在不显著增加能耗的情况下扩展 AI 基础设施。 业界领先覆盖范围的 200G PAM4 SerDes: SerDes(串行器/解串器)技术可在铜缆或光纤链路上实现高速数据传输。Jericho4 芯片支持 200G PAM4 SerDes,相比现有技术,可在更长距离上实现更快的数据速率。这使得交换机和服务器能够在更大的数据中心园区或建筑物之间进行连接,而无需牺牲速度或可靠性。 符合超级以太网联盟标准:超级以太网联盟致力于推广高性能计算和人工智能的以太网标准。Jericho4 的合规性确保了与其他超级以太网设备的无缝兼容,从而保护了投资,并为即将到来的人工智能和云工作负载做好了网络的保障。 端点 无关: Jericho4 兼容任何使用以太网的网卡 (NIC) 或 XPU,例如 GPU 或 DPU。这种灵活性使组织能够集成各种计算和存储端点,支持各种 AI 架构和供应商解决方案,而不局限于单一生态系统。 AI 网络: Jericho4 架构以其管理持久、高带宽 AI 流量的能力而脱颖而出。通过利用 HyperPort 技术,它消除了传统的瓶颈和低效率,为可扩展的 AI 网络提供了更高的吞吐量和更低的延迟。这对于跨园区、大都市乃至更广阔地域部署 AI 工作负载的企业尤为重要。 Jericho4 是博通完整以太网 AI 平台的重要组成部分,该平台还包括: Tomahawk 6:用于 AI 横向扩展和纵向扩展的 102.4 Tbps 交换机。 Tomahawk Ultra:用于 HPC 和 AI 扩展的 51.2 Tbps 低延迟交换机。 Thor 系列:针对 AI 优化的以太网 NIC。 物理层产品:包括重定时器、DSP 和第三代共封装光学器件 (CPO)。 这些产品共同提供了一个开放、可扩展的平台,用于开发任何规模的基于以太网的 AI 基础设施——从紧密互连的 GPU 集群到区域部署。    博通核心交换事业部高级副总裁兼总经理Ram Velaga表示:“Jericho4系列旨在将AI规模以太网结构扩展到单个数据中心之外,支持无拥塞的RoCE和3.2 Tbps HyperPort,实现前所未有的互连效率。Scale Up以太网(SUE)、Tomahawk Ultra、Tomahawk 6和Jericho4在以开放且可互操作的方式在机架内、跨机架和跨数据中心实现大规模分布式计算系统方面都发挥着非常重要的作用。”    博通认为 Jericho4 标志着以太网的成熟,使其成为能够满足最苛刻的 AI 工作负载需求的完全可行的传输方式。Infiniband 或专有架构曾经主导着横向扩展的讨论,而博通的“以太网优先”战略则为在 AI 和非 AI 领域实现统一基础架构提供了一条途径。      博通的 Jericho4 进入了一个竞争激烈的市场,超大规模数据中心运营商和 AI 基础设施提供商都致力于突破传统 InfiniBand 和以太网解决方案的局限性。NVIDIA 凭借其基于 InfiniBand 的 Quantum 和 Spectrum-X 以太网交换机,继续在 AI 网络领域占据主导地位,尤其是在紧密耦合的 GPU 集群领域。然而,以太网的开放性、经济性和生态系统支持正在推动人们转向基于以太网的 AI 架构,尤其是在横向扩展和多站点部署方面。    其他竞争对手,例如拥有 Nexus 系列的思科和 Arista Networks,也在大力投资高性能、AI 优化的以太网交换。然而,博通的深度缓冲、无损架构,加上其在芯片创新和生态系统整合方面的领先地位,赋予了 Jericho4 极具吸引力的价值主张,尤其对于那些致力于开发开放、可扩展且面向未来的 AI 基础架构的组织而言。

    博通

    芯视点 . 2025-08-06 5205

  • 方案 | 精准平稳 高效节能|圣邦高空作业平台成套电液系统解决方案

    高空作业平台作为近年热门工程机械,其有能悬伸作业、多点作业、平台载重量大、可搭载设备、移动方便等优点。适用于车站、码头、商场、体育场馆、小区物业、厂矿车间等大范围作业。    圣邦针对其特性开发成套电液系统解决方案。主要由电比例多路阀、转向多路阀、平台控制阀、行走闭式泵、变量柱塞泵、行走马达、显示器及多个独立控制器组成的负载敏感控制系统。 ●提供电比例阀前/阀后压力补偿负载敏感多路阀,流量范围为5~60L/min。独有定压差专利技术,各联流量精准,不受泵压差调定以及管路等影响。抗流量饱和,复合动作精准高效; ●带阀芯位移传感,滞环小,响应迅速; ●实现整车行驶与转向、臂架变幅伸缩、转台回转、平台自动调平等动作,无级调速,启停平顺、响应迅速、动作平稳、微动性好; ●流量按需分配,绿色节能,节能约30%; ●配套人机界面,具有整车状态显示、故障记录查询与诊断、端口查询、参数设置等功能; ●对转台、底盘、平台,采用独立控制器,相互间采用CAN总线通讯,同时对电控发动机的控制,可靠性高控制器具有丰富的IO、RS232/485/LIN等通讯接口。 其中SEG、SEC系列电比例负载敏感多路阀作为该系统的液压主阀,因其高效、精准、节能的特性十分适配该系统,同时为其电动化升级预留了空间。 ○阀前补偿电比例负载敏感多路阀 ○铸造油道、结构紧凑、压力损失小 ○可根据用户需求进行开关或比例多联组合 ○控制方式比例电磁铁直驱,控制精度高,响应快 ○阀后补偿电比例负载敏感多路阀 ○铸造油道、结构紧凑、压力损失小 ○可根据用户需求进行开关或比例多联组合,以及叠加液压锁或平衡阀 ○手动+电液控复合(纯液控可以根据客户需求开发) 针对高空作业平台的电动化趋势,圣邦顺应行业发展,推出SA10VO28DRF1/53R系列开式柱塞泵。 ○斜盘结构轴向柱塞变量泵,用于开式回路中的静液压传动 ○流量与传动速度和排量成比例 ○通过调节旋转斜盘角度,可实现流量的无级变化 ○实现长久使用寿命的稳定存储 ○传动效率高 ○有利的功率/重量比-紧凑尺寸 ○低噪音 ○出色的吸油特性 ○较短的响应时间 圣邦深耕液压行业30余年,致力于为客户提供成套电液解决方案,顺应行业发展,为节能化、智能化液压事业添砖加瓦。   圣邦是您可信赖的专业合作伙伴。

    圣邦

    圣邦 . 2025-08-06 1050

  • 产品 | 东芝的新款低随机噪声镜头缩小型CCD线性图像传感器,有助于提高A3多功能打印机等设备的图像质量

    东芝电子元件及存储装置株式会社(“东芝”)今日宣布,推出一款面向A3多功能打印机的镜头缩小型[1]CCD[2]线性图像传感器“TCD2728DG”。这款传感器内置7,500个图像传感元素数量[3],支持A3多功能打印机。与东芝现有TCD2726DG产品相比,降低随机噪声(NDσ)[4]的效率更高。该产品于今日开始支持批量出货。 商业办公对高速、高分辨率复印和扫描大量不同类型文档的需求日益增长。对于A3多功能打印机而言,尤其如此,提高图像质量已成为一项重要课题,而抑制信号中的NDσ则至关重要。    与东芝现有产品TCD2726DG相比,TCD2728DG具有更低的输出放大器增益[5],可将随机噪声降低约40%[6]。这一改进可提高多功能打印机的图像质量。新款CCD线性传感器可实现高达100MHz(50MHz×2通道)的数据速率,可高速处理大量图像,非常适合需要实时决策的检测系统中的线性扫描摄像头。   未来东芝将继续扩大其线性图像传感器产品线,满足日益增长的对高速、高分辨率成像及传感技术的需求,为多功能打印机的扫描以及检测设备的传感应用提供有力支持。 应用 ● A3多功能打印机(分辨率为600dpi) ● 各类检测系统(半导体检测设备和食品分选设备等)的7,500像素线性扫描摄像头    特性 ● 随机噪声锐降约40% ● 高速CCD线性图像传感器:数据速率=100MHz(主时钟频率50MHz×2通道)(最大值) ● 内置的时序发生器电路与CCD驱动电路[7]有助于简化系统开发    主要规格 (Ta=25°C)    注: [1] 用光学镜头缩小图像并将其投射到CCD或CMOS图像传感器上的方法。 [2] CCD:电荷耦合器件。 [3] 在600dpi分辨率下扫描A3尺寸短边(297mm)所需的像素数。(dpi(每英寸点数):每英寸划分数) 换算为英寸的A3尺寸:297mm/25.4mm≒11.7英寸 11.7×600=7,020像素⇒留出余量后,7,500像素 [4] 影响图像质量的不规则噪声。 [5] 调整输出信号放大率的电路。放大倍数与噪声成正比。 [6] 与东芝现有产品TCD2726DG的对比。东芝测量的值。 [7] 产生驱动线性图像传感器所需信号的电路。    如需了解有关TCD2728DG的更多信息,请点击查看。 如需了解有关线性图像传感器的更多信息,请点击查看。    *本文提及的公司名称、产品名称和服务名称可能是其各自公司的商标。 *本文档中的产品价格和规格、服务内容和联系方式等信息,在公告之日仍为最新信息,但如有变更,恕不另行通知。

    东芝

    东芝半导体 . 2025-08-06 830

  • 企业 | 英飞凌发布2025财年第三季度财报

    英飞凌2025财年第三季度营收符合预期,利润超出预期。尽管面临持续的关税不确定性和美元走弱,本季度预计将进一步增长。    英飞凌科技股份公司近日公布了2025财年第三季度的财报(截至2025年6月30日)。 2025财年第三季度:营收为 37.04 亿欧元,利润为6.68 亿欧元,利润率18.0%。 2025财年第四季度展望:假设欧元兑美元汇率为1:1.15(此前为1:1.125),预计营收将达到 39 亿欧元。在此基础上,利润率预计为17%~19%左右。 2025财年展望:假设第四季度欧元兑美元汇率为1:1.15(此前为1:1.125),预计本财年营收约为146亿欧元,较上一年将略有下降。调整后的毛利率预计达到40%以上(此前为约40%),利润率为17%~19%左右(此前为14%~16%)。投资额约 22 亿欧元(此前为23亿欧元)。自由现金流将自然增长至10 亿欧元左右(此前为约9亿欧元)。考虑到从Marvell收购汽车以太网业务即将完成,自由现金流预计将达到约负12亿欧元。调整后的自由现金流(扣除对前道厂房的投资和大型并购交易后)预计为约17亿欧元(此前为16亿欧元)。 Jochen Hanebeck英飞凌科技首席执行官   第三季度,英飞凌在极具波动的市场环境中再次取得了稳健的业绩。我们目标市场的库存调整已取得显著进展。然而,我们和客户仍在持续应对不确定的宏观经济和地缘政治形势。同时,我们正积极把握战略增长领域的机遇:通过即将对Marvell汽车以太网业务的收购进一步强化软件定义汽车领域;人工智能数据中心的电源解决方案、快速增长的能源基础设施投资,以及未来的人形机器人市场。在这些领域,对半导体的需求正呈现长期增长趋势。英飞凌凭借其广泛的产品组合,涵盖功率半导体、模拟器件、传感器和控制与连接技术,在引领这些市场发展中发挥重要作用。

    英飞凌

    英飞凌官微 . 2025-08-06 1350

  • 企业 | 安森美公布2025年第二季度财报

    安森美(onsemi,美国纳斯达克股票代码:ON)公布其2025年第二季度财务业绩,主要亮点如下: 第二季度收入为14.687亿美元 第二季度公认会计原则(以下简称“GAAP”) 和 非GAAP毛利率均为37.6% 第二季度GAAP 营业利润率和非GAAP营业利润率分别为13.2%和17.3% 第二季度GAAP每股摊薄收益为0.41美元,非GAAP每股摊薄收益为0.53美元 经营活动现金流为1.843亿美元,自由现金流为1.061亿美元   “我们正在进行的转型使业务模式更加可预测,体现了我们战略的有效性以及对长期价值创造的承诺。我们开始看到终端市场的稳定迹象,并已做好准备从市场复苏中受益。” 安森美总裁兼首席执行官Hassane El-Khoury 表示,“在执行短期优先事项的同时,我们也通过对下一代技术的投资,为公司的长期增长奠定基础,进一步巩固我们的市场领导地位。”    下表概列2025年第二季度与可比较时期的部分财务业绩(未经审计):   2025年第三季度展望 下表概列安森美预计2025年第三季度的GAAP及非GAAP展望:  电话会议 安森美已于美国东部标准时间 (ET) 2025年 8 月 4日上午 9 时举行金融界电话会议,讨论此次的发布和安森美 2025 年第二季度业绩。英语电话会议已在公司网站http://www.onsemi.cn的“投资者关系”网页作实时广播。实时网上广播大约1小时后在该网站回放,为时30天。

    安森美

    安森美 . 2025-08-06 790

  • 1
  • 17
  • 18
  • 19
  • 20
  • 21
  • 500