方案 | 革新AI算力基建:1.2kW 48V GaN方案突破数据中心PUE局限

来源: 英诺赛科 2025-05-19 13:20:45

随着AI 算力需求的指数级增长,其供电解决方案正面临高密度化、智能化和低碳化的核心诉求。氮化镓芯片以其高频高效、小型化、低损耗的优势,可以大幅提升数据中心供电解决方案的功率密度和效率,支持AGI(通用人工智能)时代的可持续算力革命。

  
英诺赛科作为全球氮化镓工艺创新与功率制造的领导者,早已在数据中心领域开发了完整的产品系列和全链路氮化镓解决方案。继此前推出的2kW降压电源方案后,英诺赛科宣布针对48V系统再次推出行业领先的1.2kW四相降压电源方案,革新AI算力基建,突破数据中心PUE局限!  

小体积、高能效

英诺赛科此次推出的多相降压电源方案利用氮化镓高频高效的优势和四相交错Buck拓扑结构,实现高功率密度紧凑设计,内置超小体积氮化镓半桥驱动IC和双面散热低压氮化镓,效率高达98.1%,功率部分占板面积仅48mmx12mm。

  
PART. 1GaNFETs+Driver IC:小体积、低损耗的关键

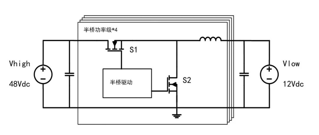
与Si MOS相比,GaN具备更优越的开关特性和更低的开关损耗, 可以带来更高的转换效率,更高的开关频率,更小的磁性器件尺寸和滤波电容的体积,以及更高的功率密度。此次发布的1.2kW高功率密度多相降压电源方案采用4颗英诺赛科100V氮化镓半桥驱动 IC INS2002FQ和8颗100V双面散热的低压氮化镓INN100EA035A

  
英诺赛科自研的INS2002FQ采用FCQFN 3mmx3mm 封装,专为驱动GaN打造,十分适合高功率和高频率应用。该产品具备如下特点:

  • 内置自举电路BST钳位电路,能够保护GaN栅极在安全的驱动电压范围内工作
  • 独立驱动上拉和下拉输出引脚,可分别调节开通和关断速度
  • 支持3态PWM输入,可以通过调整外部配置电阻灵活调节死区时间
  • 和竞品驱动IC相比,具备更强的驱动能力和更低的传播延迟

英诺赛科100V 增强型功率氮化镓INN100EA035A,采用En-FCLGA3.3x3.3封装,具备超低的导通电阻和双面散热特性,可以大幅降低能耗并提升散热能力,是实现高功率密度方案的关键。

PART. 2四相交错Buck,提升系统效率

英诺赛科1.2kW高功率密度多相降压电源方案采用四相交错Buck拓扑,每相使用1颗INS2002FQ和2颗INN100EA035A实现功率传输。

拓扑结构图示

该方案采用了铂科新材料最新开发的高频磁材,该材料具备高频损耗小,高饱和磁通密度的特点,可以很好的发挥氮化镓的高频优势,使得整体方案比传统方案体积减小50%以上,同时结合四相交错BUCK拓扑,进一步降低了电感和电容的体积,有助于提升系统功率密度,同时具备十分灵活的拓展功能。

  
在输入40V-60V,输出12V/100A的条件下,该方案的最大输出功率为1200W。典型的48V输入下,峰值效率达到98.1%@600W,满载效率为97.5%@1200W。与Si方案相比,效率高1%以上

效率曲线图示

行业领先高效率、低损耗

英诺赛科1.2kW高功率密度多相降压电源方案与行业同类方案相比, 具备以下领先优势

  • 四相交错 Buck 拓扑,生态成熟,拓展性灵活
  • 超98%,行业领先效率(与Si方案相比,效率高1%以上)
  • 高开关频率、高功率密度,系统损耗降低30%(满载无风条件下器件热点温度比Si方案低15℃以上)

多领域适用,助力系统升级

英诺赛科此次开发的降压电源方案可应用于数据中心领域的服务器48V供电系统、新能源汽车48V供电架构,以及工业和通信的电源模块,借助氮化镓的性能降低系统损耗,大幅提升效率,帮助实现低碳、节能发展。

专题

查看更多
IC品牌故事

IC 品牌故事 | 三次易主,安世半导体的跨国迁徙

IC 品牌故事 | 开放合作+特色深耕,华虹的突围之路

IC 品牌故事 | Wolfspeed:从LED到SiC,被中国厂商围追堵截的巨头

人形机器人

市场 | 全球首家机器人6S店在深圳龙岗开业

方案 | Allegro解决方案助力机器人应用提升效率、可靠性和创新

方案 | 爱仕特SiC三电平方案:突破工商储能PCS高效极限

毫米波雷达

毫米波雷达 | 智能驾驶不可或缺的4D毫米波雷达技术全解析

毫米波雷达 | 有哪些热门毫米波雷达芯片和解决方案?

毫米波雷达 | 超百亿美元的毫米波雷达都用在了哪里?

0
收藏
0