在汽车向电动化、智能化、网联化的转型进程中,域控制器、ADAS 等核心部件对供电的稳定性、集成度、安全性需求提出了更高的要求。车规级电源管理芯片作为车载电子的“能量中枢”,将直接决定整车电子系统运行质量。
对此,杰华特全新推出一款车规级PMIC芯片JWQ40260,可全方位满足域控制器、ADAS系统、车载信息娱乐系统等核心供电应用需求。
产品特性
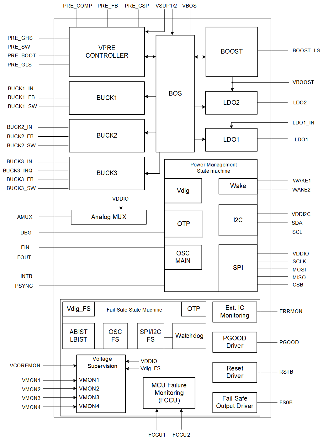
JWQ40260可支持最高60V输入电压,集成一级/二级共七路独立电源输出,满足SOC及平台系统内各负载的供电需求;支持I2C、SPI两种接口通信;独立的内置电压监测电路符合ISO26262标准,功能安全达到最高 ASIL-D等级。灵活的上下电时序配置、宽范围的输入输出、完善的监测和保护机制及优化EMI性能的展频调制功能,为汽车各种域控制器平台的供电方案提供了更加灵活、可靠的系统解决方案。
宽范围输入输出能力
JWQ40260支持最大60V宽输入范围,可直接对接车载电池系统。
其中一级大电流同步降压BUCK控制器输出范围3.3V~5V,最大持续输出电流10A,可为SoC、MCU等大功耗核心供电;
二级同步降压BUCK电源三路,两路输出范围0.8V~1.8V(可并联输出),一路输出范围1V~3.3V,每路支持最大电流3A,满足SoC、传感器、存储等负载需求;
二级异步升压BOOST电源一路,输出范围5V~6.5V,支持不小于1A输出能力,满足高压中负载需求,如高速接口供电和存储器供电等;
二级线性LDO电源两路,输出1.1V~5V,支持最大0.4A输出,可为低噪声模拟电路(音频/射频)等模块供电。
多通道电压实时监测
JWQ40260在满足各电源宽范围输入输出的同时,还配备了六路独立的电压检测(Monitor),可实时对电源的过压和欠压情况进行精准监控,且过压和欠压检测阈值能够在±(4.5%~12%)范围内配置,可根据不同负载的电压需求范围进行精准监控。
内置自检与容错设计
为提高对潜在故障的检测能力,JWQ40260集成了 Analog Built-in Self-Test (ABIST) 与 Logic Built-in Self-Test (LBIST) 。在系统运行过程中,ABIST针对模拟电路部分,通过注入测试信号并分析输出响应,检测模拟电路是否正常工作。LBIST对芯片内部的逻辑电路进行自我检测,通过发送特定的测试向量并检查响应结果,及时发现逻辑电路中的故障。这两种自检方法能够进一步发现潜在的故障隐患,为系统的安全运行提供了有力保障。
简单看门狗与挑战看门狗
JWQ40260提供简单看门狗和挑战看门狗两种类型的窗口看门狗。简单看门狗使用独特的种子,通过定期刷新看门狗来防止系统复位。挑战看门狗基于与SOC的问答过程,通过问答机制进一步提高了对软件故障检测的准确性和可靠性,减少了误判的可能性。
SOC协同监控
JWQ40260 能够与SOC上的故障收集和控制单元(FCCU)协同工作,实现对系统硬件错误的监控。JWQ40260 实时监测 FCCU 的输出引脚,一旦检测到 FCCU 故障,能够迅速做出响应,确保系统进入安全状态。FCCU 协同监控技术加强了芯片与系统中其他关键组件之间的安全协作,提高了整个系统对硬件故障的应对能力。
OTP存储器(一次性编程)
多样化配置
JWQ40260可通过OTP对fresh芯片进行多样化的配置烧入,同个产品即可满足不同场景的多样化需求,例如不同的输出电压配置与上电时序配置。此外,OTP固有的单次烧录特性也保障了产品的安全性。
完整的车规级PMIC产品生态
依托对车载电源场景的深刻理解,杰华特正加速构建完整的车规级PMIC产品生态。通过推出9通道电源管理芯片JWQ40261,单通道20A大电流电源管理芯片JWQ52902,摄像头电源管理芯片JWQ40220等,我们致力于从核心域控到智能传感器,为汽车电子提供全覆盖的高性能、高可靠性电源解决方案,实现从核心突破到生态布局的战略纵深。



全部评论